Запчасти Komatsu PC100-5 ВСАСЫАЮЩИЙ КЛАПАН БЕЗОПАСНОСТИ (ДЛЯ НАВЕСН. ОБОРУД.)(№8-) УПРАВЛ-Е РАБОЧИМ ОБОРУДОВАНИЕМ

Схема запчастей Komatsu PC100-5 - ВСАСЫАЮЩИЙ КЛАПАН БЕЗОПАСНОСТИ (ДЛЯ НАВЕСН. ОБОРУД.)(№8-) УПРАВЛ-Е РАБОЧИМ ОБОРУДОВАНИЕМ
FIT
1:1
100%

Артикул

Название

Примечание

Количество

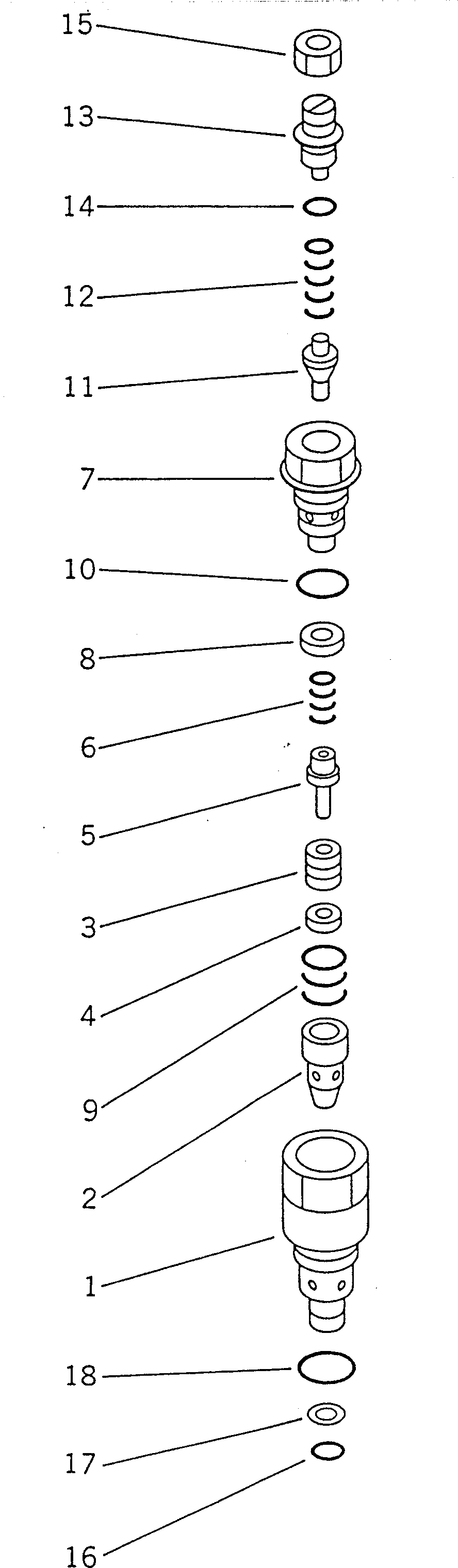
|1

709-70-71700

VALVE ASS'Y,(175KG/CM2) SUCTION AND SAFETY

|1

709-70-71600

VALVE ASS'Y,(250KG/CM2) SUCTION AND SAFETY

1

709-70-71511

SLEEVE

2

SLEEVE

3

POPPET

4

SEAL

5

PISTON

6

709-70-71210

SPRING

7

PLUG

8

SEAL

9

709-70-71220

SPRING

10

07002-02434

O-RING

11

POPPET

12

SPRING

13

SCREW

14

O-RING

15

NUT

16

700-22-11410

O-RING

17

700-80-64220

RING,BACK-UP

18

07002-03034

O-RING

Выбрано товаров: 20