Запчасти Komatsu PC100-5 КОМПОНЕНТЫ ДВИГАТЕЛЯ (PCSS)(№8-) КОМПОНЕНТЫ ДВИГАТЕЛЯ И ЭЛЕКТРИКА

Схема запчастей Komatsu PC100-5 - КОМПОНЕНТЫ ДВИГАТЕЛЯ (PCSS)(№8-) КОМПОНЕНТЫ ДВИГАТЕЛЯ И ЭЛЕКТРИКА
FIT
1:1
100%

Артикул

Название

Примечание

Количество

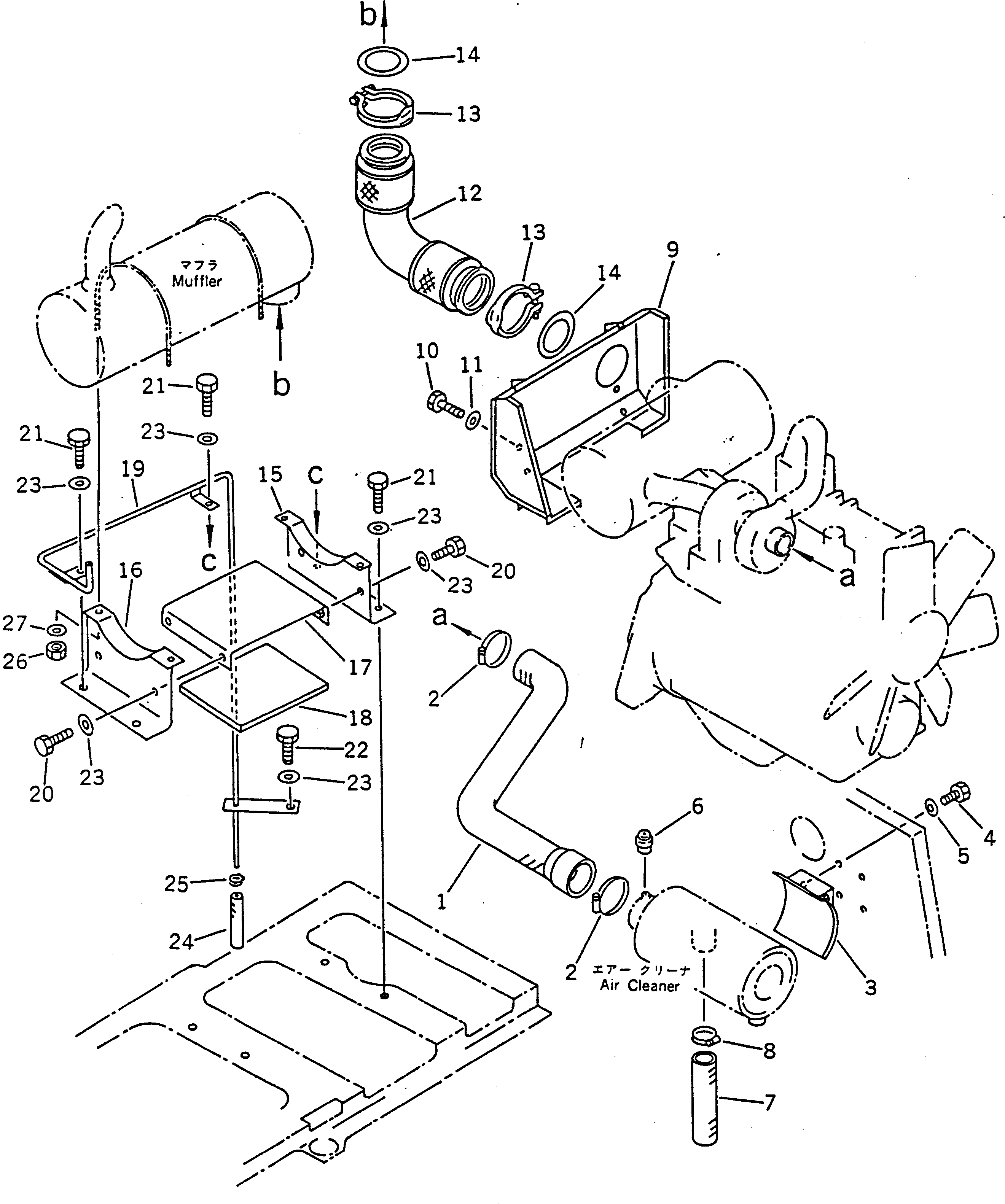
1

203-01-51221

HOSE

2

07281-00909

CLAMP

3

203-01-51210

BRACKET

4

01010-51020

BOLT

5

01643-31032

WASHER

6

08670-12001

INDICATOR,DUST

7

203-01-56180

HOSE

8

07281-00909

CLAMP

9

203-01-53211

COVER

|9

203-01-53210

COVER

10

01010-51020

BOLT

11

203-54-56970

WASHER

|11

01643-31032

WASHER

12

203-01-81120

BELLOWS ASS'Y,EXHAUST

13

202-01-81360

COUPLING

14

202-01-81370

GASKET

15

203-01-53150

BRACKET

16

203-01-53160

BRACKET

17

203-54-55190

COVER

18

203-54-55840

SHEET

19

203-54-55170

TUBE

20

01010-51020

BOLT

21

01010-51025

BOLT

22

01010-51025

BOLT

23

01643-31032

WASHER

24

07260-20920

HOSE

25

07285-00150

CLIP

26

01580-10806

NUT

27

01643-30823

WASHER

Выбрано товаров: 29