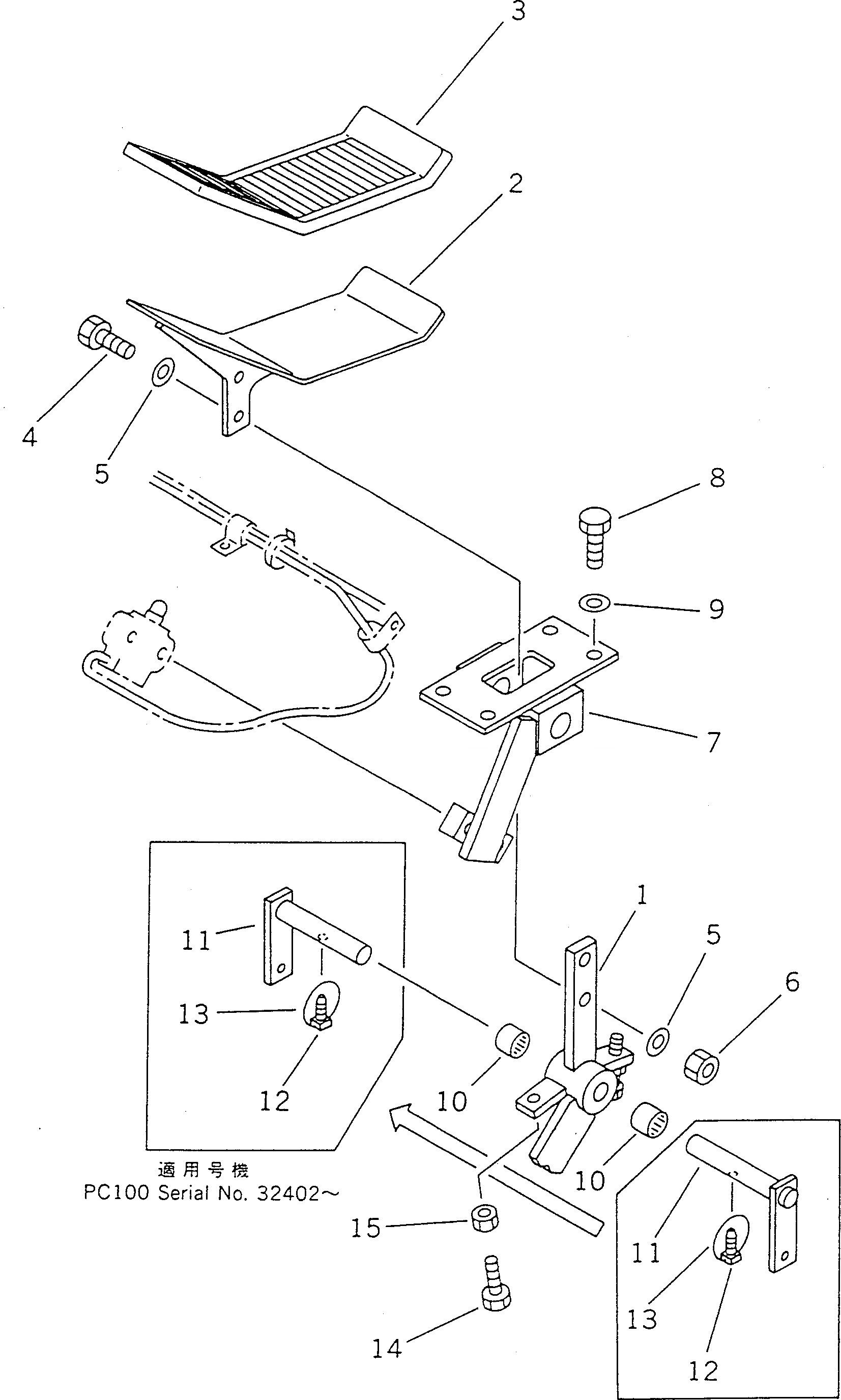
Запчасти Komatsu PC100-5 ПЕДАЛЬ УПРАВЛ-Я И МЕХАНИЗМ (/) (ИЗМЕЛЬЧИТЕЛЬ И ДРУГОЕ НАВЕСН. ОБОРУД) СИСТЕМА УПРАВЛЕНИЯ И ОСНОВНАЯ РАМА

Схема запчастей Komatsu PC100-5 - ПЕДАЛЬ УПРАВЛ-Я И МЕХАНИЗМ (/) (ИЗМЕЛЬЧИТЕЛЬ И ДРУГОЕ НАВЕСН. ОБОРУД) СИСТЕМА УПРАВЛЕНИЯ И ОСНОВНАЯ РАМА
FIT
1:1
100%

Артикул

Название

Примечание

Количество

1

201-973-6270

LEVER

2

203-43-51321

PEDAL,R.H.

3

205-43-71911

CAP,PEDAL

4

01010-51030

BOLT

5

01643-31032

WASHER

6

01580-11008

NUT

7

201-973-6280

BRACKET

8

01010-51025

BOLT

9

01643-31032

WASHER

10

195-61-34120

BEARING

11

203-973-5380

SHAFT

|11

203-973-5320

SHAFT

12

01306-10820

SCREW

13

04059-01012

WIRE

14

01016-51045

BOLT

15

01580-11008

NUT

Выбрано товаров: 16