Запчасти Komatsu PC100-5 ГИДРОЛИНИЯ (РАБОЧЕЕ ОБОРУДОВАНИЕ УПРАВЛ-Е¤ ПРАВ.) (ДЛЯ УДЛИНН. РЫЧАГ УПРАВЛ-Е) СИСТЕМА УПРАВЛЕНИЯ И ОСНОВНАЯ РАМА

Схема запчастей Komatsu PC100-5 - ГИДРОЛИНИЯ (РАБОЧЕЕ ОБОРУДОВАНИЕ УПРАВЛ-Е¤ ПРАВ.) (ДЛЯ УДЛИНН. РЫЧАГ УПРАВЛ-Е) СИСТЕМА УПРАВЛЕНИЯ И ОСНОВНАЯ РАМА
FIT
1:1
100%

Артикул

Название

Примечание

Количество

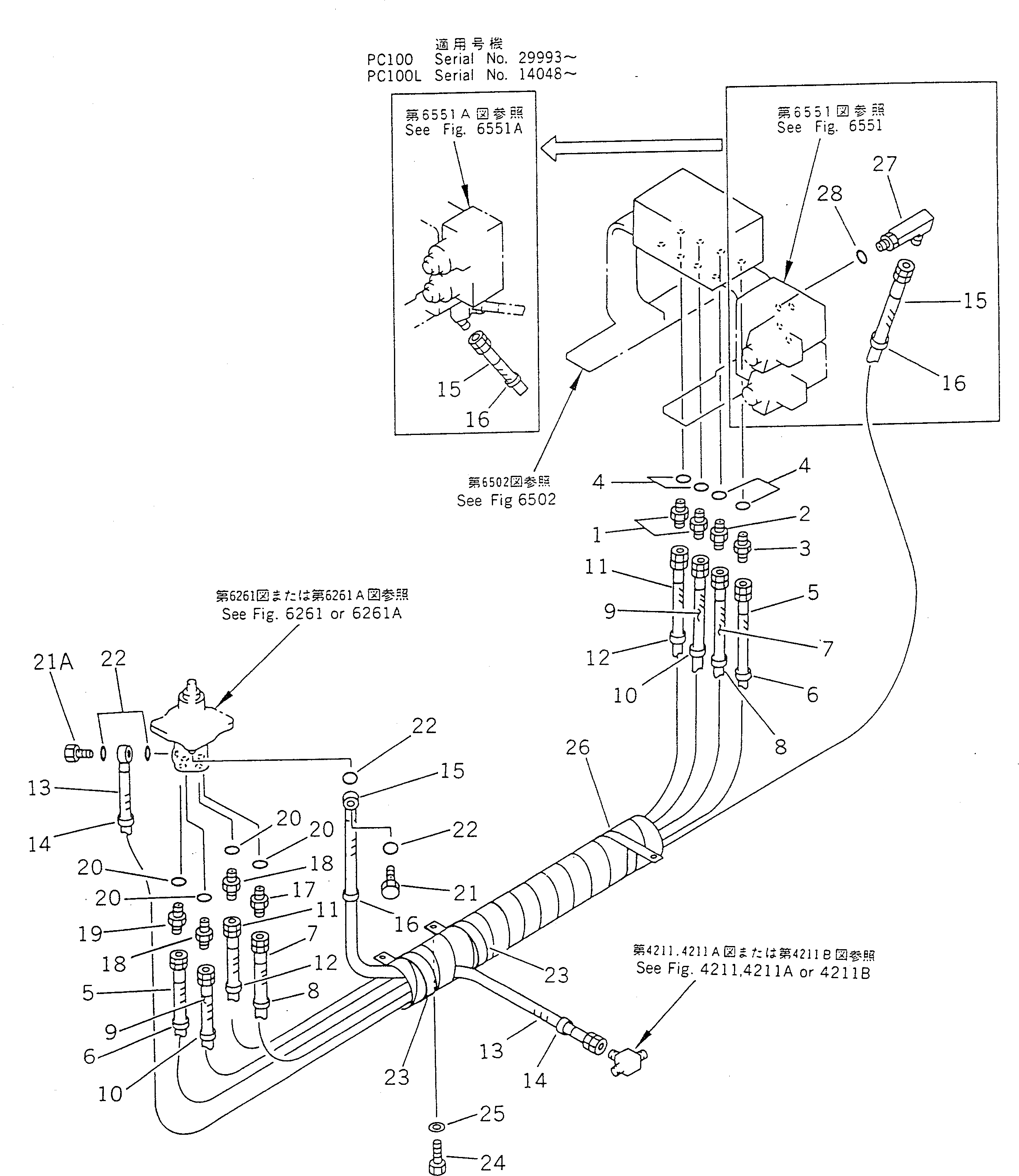
1

07230-20210

UNION

2

205-62-55270

NIPPLE

3

07230-20210

UNION

|3

205-62-55270

NIPPLE

4

07002-01423

O-RING

5

07102-20222

HOSE

|5

07102-20322

HOSE

6

203-62-57910

MARK¤ 1

7

07102-20322

HOSE

8

203-62-57920

MARK¤ 2

9

203-62-57720

HOSE

10

203-62-57930

MARK¤ 3

11

203-62-57720

HOSE

12

203-62-57940

MARK¤ 4

13

203-62-57641

HOSE

14

203-62-58170

MARK¤ P2

15

203-62-57140

HOSE

16

203-62-58220

MARK¤ T2

17

205-62-55270

NIPPLE

18

07230-20210

UNION

19

07230-20210

UNION

|19

205-62-55270

NIPPLE

20

07002-01423

O-RING

21

203-62-57730

BOLT,JOINT

21A

702-16-53240

PLUG

|21A

203-62-57730

BOLT,JOINT

22

07000-02018

O-RING

23

21K-62-21660

CLIP

24

01010-51020

BOLT

25

01643-31032

WASHER

26

21T-06-11940

CLIP

|26

21T-06-11950

CLIP

27

208-62-18190

ELBOW

28

07002-01423

O-RING

Выбрано товаров: 0