Запчасти Komatsu PC100-5 ГИДРОЛИНИЯ (МАСЛООХЛАДИТЕЛЬ И ВОЗВРАТ. ЛИНИЯ) (/) (ДЛЯ ТОРМОЗ.R И ДРУГОЕ НАВЕСН. ОБОРУД) УПРАВЛ-Е РАБОЧИМ ОБОРУДОВАНИЕМ

Схема запчастей Komatsu PC100-5 - ГИДРОЛИНИЯ (МАСЛООХЛАДИТЕЛЬ И ВОЗВРАТ. ЛИНИЯ) (/)       (ДЛЯ ТОРМОЗ.R И ДРУГОЕ НАВЕСН. ОБОРУД) УПРАВЛ-Е РАБОЧИМ ОБОРУДОВАНИЕМ
FIT
1:1
100%

Артикул

Название

Примечание

Количество

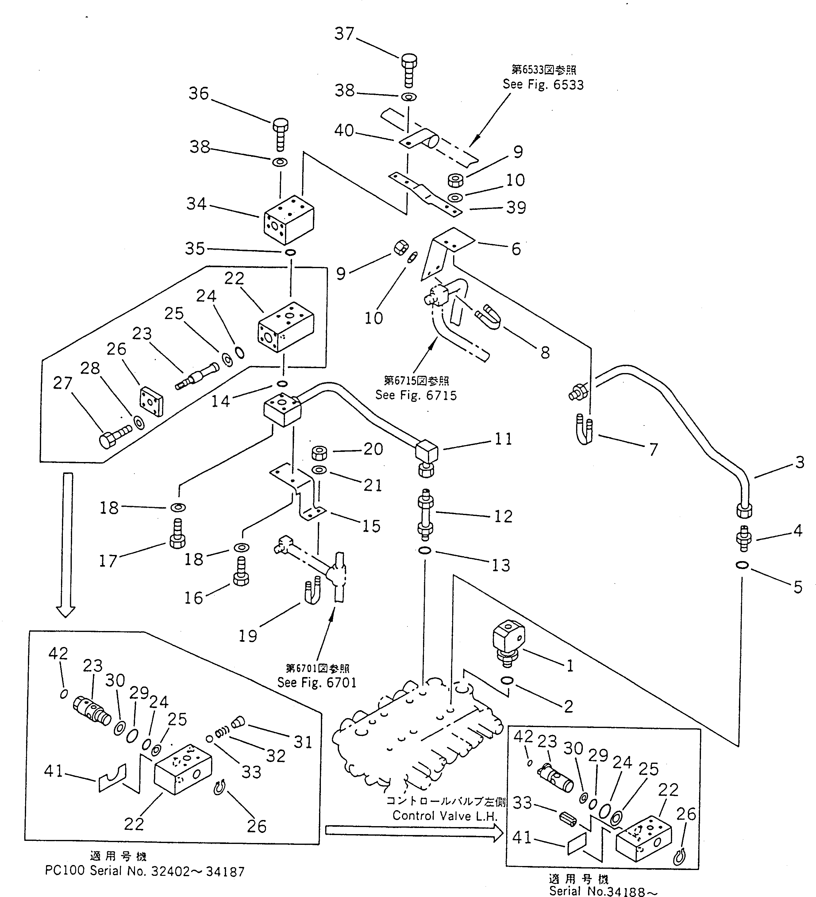
1

202-973-6310

ELBOW

2

07002-13334

O-RING

3

203-973-5430

TUBE

4

07230-20522

UNION

4

203-62-51230

UNION

5

07002-12434

O-RING

6

203-973-5480

PLATE

7

07283-22244

CLIP

8

07283-22236

CLIP

9

01599-01011

NUT

10

01643-31032

WASHER

11

203-973-5451

TUBE

11

203-973-5450

TUBE

12

203-973-5440

TUBE

13

07002-12434

O-RING

14

07000-13030

O-RING

15

203-973-5511

PLATE

15

203-973-5510

PLATE

16

01010-51065

BOLT

17

01010-51060

BOLT

18

01643-31032

WASHER

19

07283-22236

CLIP

20

01599-01011

NUT

21

01643-31032

WASHER

|$24

203-973-5500

VALVE ASS'Y

|$25

203-973-5901

VALVE ASS'Y

|$26

203-973-5900

VALVE ASS'Y

22

203-973-5942

BODY

22

203-973-5941

BODY

22

203-973-5940

BODY

23

202-973-6790

SPOOL

23

203-973-3821

SPOOL

23

203-973-3820

SPOOL

24

07000-13038

O-RING

24

07000-13025

O-RING

25

07001-03038

RING,BACK-UP

25

07001-03025

RING,BACK-UP

26

04064-03818

RING,SNAP

26

04064-03015

RING,SNAP

26

203-973-5950

PLATE

27

01010-50820

BOLT

28

01643-30823

WASHER

29

07000-13032

O-RING

30

07001-03032

RING,BACK-UP

31

07043-00108

PLUG

32

236-10-12240

SPRING

33

04025-00412

PIN,SPRING

33

04260-00793

BALL

34

203-973-5962

BLOCK

34

203-973-5961

BLOCK

35

07000-13030

O-RING

36

01010-51085

BOLT

37

01010-51090

BOLT

38

01643-31032

WASHER

39

203-973-5490

PLATE

40

144-874-6960

CLIP

41

203-00-56630

PLATE, MARK

41

201-00-61290

PLATE, MARK

42

203-00-56640

PLATE, MARK

42

203-00-58110

PLATE, MARK

Выбрано товаров: 60