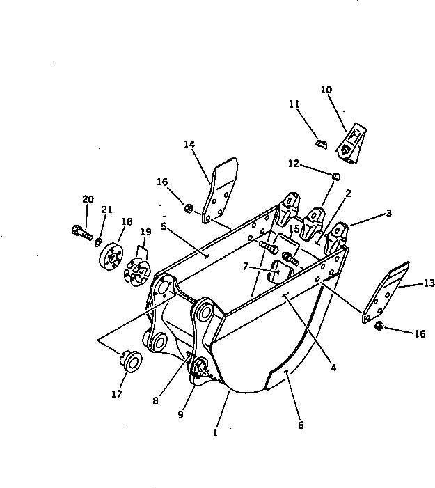
Запчасти Komatsu PC100-5 КОВШ С КРЮК¤ .M ШИР. MM (ВЕРТИКАЛЬН. ПАЛЕЦ) (КРОМЕ ЯПОН.) РАБОЧЕЕ ОБОРУДОВАНИЕ

Схема запчастей Komatsu PC100-5 - КОВШ С КРЮК¤ .M ШИР. MM (ВЕРТИКАЛЬН. ПАЛЕЦ)     (КРОМЕ ЯПОН.) РАБОЧЕЕ ОБОРУДОВАНИЕ
FIT
1:1
100%

Артикул

Название

Примечание

Количество

|$0

203-926-0191

BUCKET ASS'Y

1

203-926-5222

BUCKET

2

203-926-5230

PLATE (WELDED)

3

202-70-63190

ADAPTER (WELDED)

4

202-70-63132

PLATE,L.H. (WELDED)

5

202-70-63142

PLATE,R.H. (WELDED)

6

202-70-63250

PLATE (WELDED)

7

203-926-5250

PLATE (WELDED)

8

202-70-63220

PLATE (WELDED)

9

202-70-43160

HOOK (WELDED)

10

205-70-74272

TOOTH

11

205-70-74281

PIN

12

205-70-74291

LOCK

13

202-70-63161

CUTTER,L.H.

14

202-70-63171

CUTTER,R.H.

15

208-32-11231

BOLT

16

01803-02228

NUT

17

202-70-64250

SPACER

18

202-70-64240

PLATE

19

202-70-64210

SPACER, 0.5MM

19

202-70-64220

SPACER, 1.0MM

20

01010-51470

BOLT

21

01643-31445

WASHER

Выбрано товаров: 23