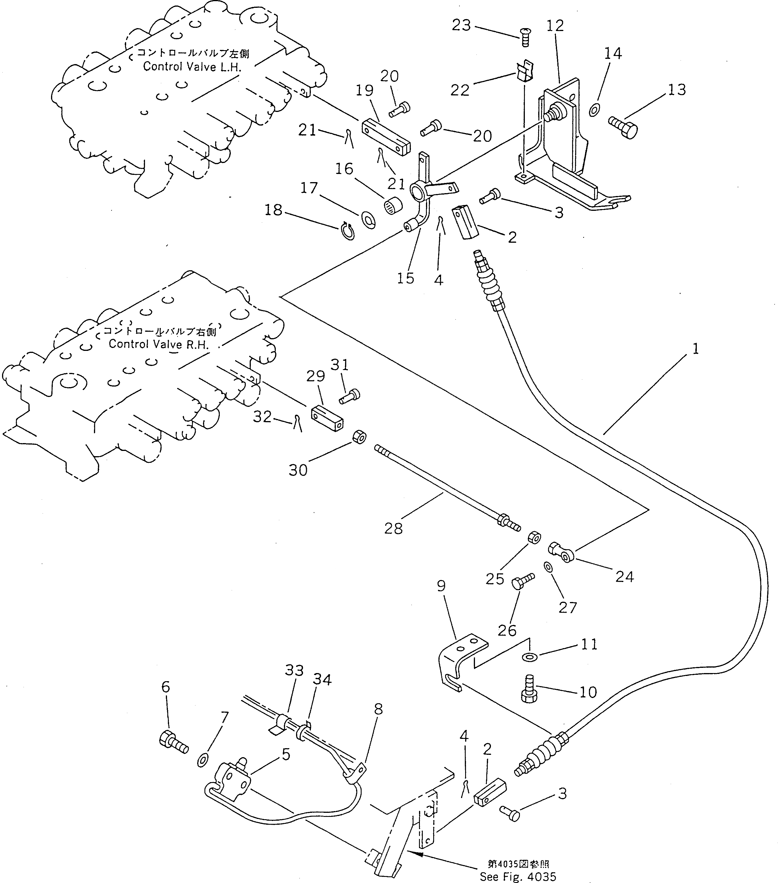
Запчасти Komatsu PC100-5 ПЕДАЛЬ УПРАВЛ-Я И МЕХАНИЗМ (/) (ИЗМЕЛЬЧИТЕЛЬ И ДРУГОЕ НАВЕСН. ОБОРУД)(№8-) СИСТЕМА УПРАВЛЕНИЯ И ОСНОВНАЯ РАМА

Схема запчастей Komatsu PC100-5 - ПЕДАЛЬ УПРАВЛ-Я И МЕХАНИЗМ (/) (ИЗМЕЛЬЧИТЕЛЬ И ДРУГОЕ НАВЕСН. ОБОРУД)(№8-) СИСТЕМА УПРАВЛЕНИЯ И ОСНОВНАЯ РАМА
FIT
1:1
100%

Артикул

Название

Примечание

Количество

1

203-973-5990

CABLE

2

04211-20844

YOKE

3

04205-10822

PIN

4

04050-12015

PIN,COTTER

5

203-06-56210

SWITCH

6

01010-51030

BOLT

7

01643-31032

WASHER

8

08036-10810

CLIP

9

203-973-5310

BRACKET

10

01010-51020

BOLT

11

01643-31032

WASHER

12

203-973-5341

BRACKET

13

01010-51025

BOLT

14

01643-31032

WASHER

15

202-973-6221

LEVER

16

195-61-34120

BEARING

17

01643-31445

WASHER

18

04064-01410

RING

19

203-43-56210

YOKE

20

04205-10822

PIN

21

04050-12015

PIN,COTTER

22

08052-01311

CLIP

23

01220-40608

SCREW

24

04250-80847

END,L.H. THREAD

25

01580-10806

NUT

26

01010-50825

BOLT

27

01643-30823

WASHER

28

04248-30832

ROD

29

04221-20844

YOKE,L.H. THREAD

30

01508-40805

NUT

31

04205-10822

PIN

32

04050-12015

PIN,COTTER

33

08036-01414

CLIP

34

08034-00414

BAND

Выбрано товаров: 34