Запчасти Komatsu PC100-5C СИДЕНЬЕ ОПЕРАТОРА ЧАСТИ КОРПУСА

Схема запчастей Komatsu PC100-5C - СИДЕНЬЕ ОПЕРАТОРА ЧАСТИ КОРПУСА
FIT
1:1
100%

Артикул

Название

Примечание

Количество

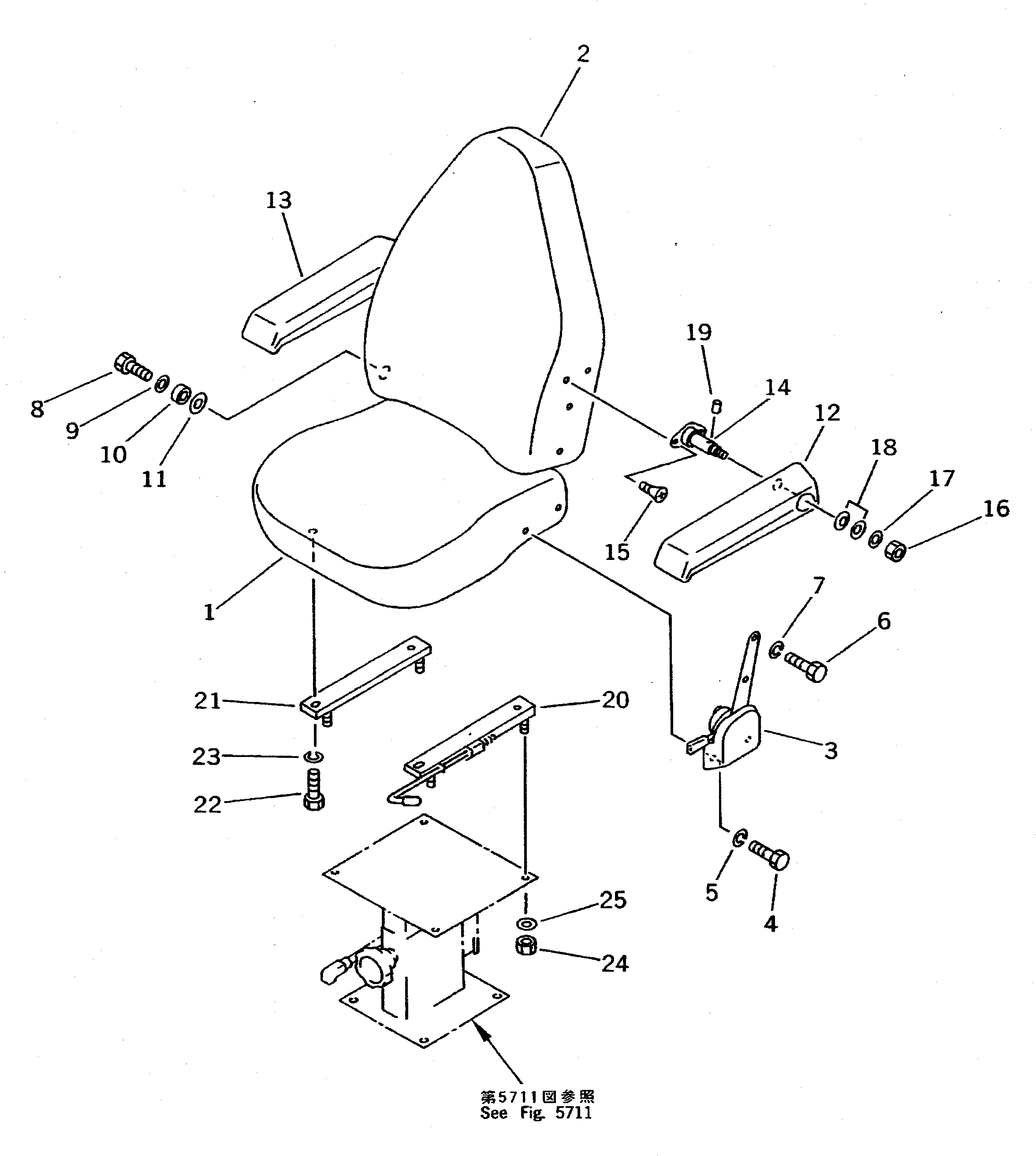
1

203-57-54110

CUSHION,SEAT

1

203-57-53110

CUSHION,SEAT

2

203-57-54120

CUSHION,BACK

2

202-57-61110

CUSHION,BACK

3

203-57-53220

RECLINING ASS'Y

4

01010-50816

BOLT

5

01602-20825

WASHER,SPRING

6

01010-50820

BOLT

7

01602-20825

WASHER,SPRING

8

01010-51030

BOLT

9

01643-31032

WASHER

10

203-57-53180

COLLAR

11

01643-31032

WASHER

12

203-57-51562

ADJUSTER,L.H.

13

203-57-51570

ADJUSTER,R.H.

14

01010-50820

BOLT

15

01602-20825

WASHER,SPRING

16

01580-10806

NUT

17

01643-30823

WASHER

Выбрано товаров: 19