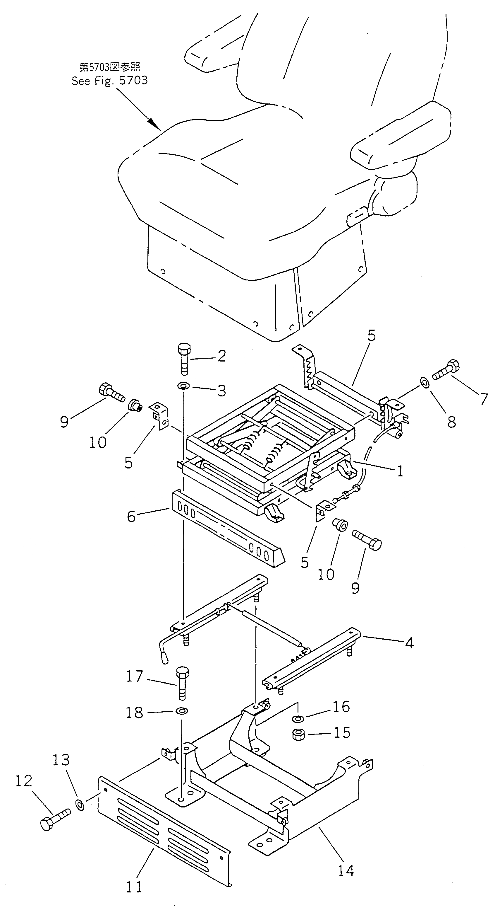
Запчасти Komatsu PC100-5S ОСНОВАНИЕ КРЕСЛА (ДЛЯ УДЛИНН. РЫЧАГ УПРАВЛ-Е) ЧАСТИ КОРПУСА

Схема запчастей Komatsu PC100-5S - ОСНОВАНИЕ КРЕСЛА (ДЛЯ УДЛИНН. РЫЧАГ УПРАВЛ-Е) ЧАСТИ КОРПУСА
FIT
1:1
100%

Артикул

Название

Примечание

Количество

1

20Y-57-11450

LIFTER ASS'Y

2

01010-50816

BOLT

3

01641-20812

WASHER

4

205-57-74181

ADJUSTER ASS'Y

5

20Y-57-11430

TILTING ASS'Y

6

205-57-74190

COVER

7

01010-50816

BOLT

8

01641-20812

WASHER

9

205-57-74210

BOLT

10

205-57-74220

BUSHING

11

20Y-57-11470

COVER

12

01010-50820

BOLT

13

01641-20812

WASHER

14

20Y-57-11460

BRACKET

15

01580-10806

NUT

16

01641-20812

WASHER

17

01010-51230

BOLT

18

01643-31232

WASHER

Выбрано товаров: 18