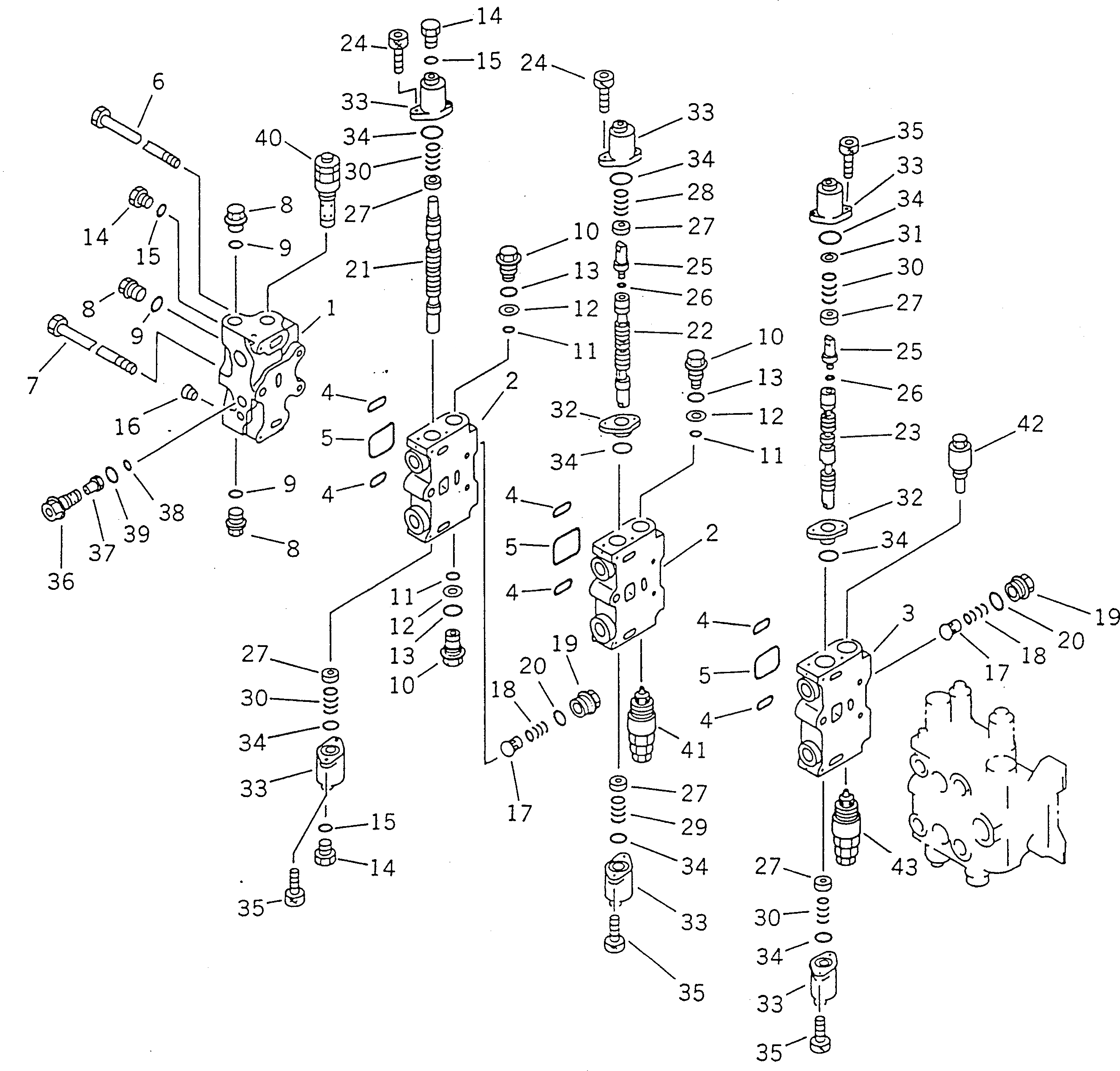
Запчасти Komatsu PC100-5S ГИДРАВЛ УПРАВЛЯЮЩ. КЛАПАН¤ ПРАВ. (/) (WIHT P.P.C. СЕРВИСНЫЙ КЛАПАНДЛЯ НАВЕСН. ОБОРУД) УПРАВЛ-Е РАБОЧИМ ОБОРУДОВАНИЕМ

Схема запчастей Komatsu PC100-5S - ГИДРАВЛ УПРАВЛЯЮЩ. КЛАПАН¤ ПРАВ. (/) (WIHT P.P.C. СЕРВИСНЫЙ КЛАПАН  ДЛЯ НАВЕСН. ОБОРУД) УПРАВЛ-Е РАБОЧИМ ОБОРУДОВАНИЕМ
FIT
1:1
100%

Артикул

Название

Примечание

Количество

|1

709-86-11200

VALVE ASS'Y,R.H.

1

COVER,VALVE

2

BLOCK,VALVE

3

BLOCK,VALVE

4

07000-03038

O-RING

5

07000-13050

O-RING

6

700-87-11110

BOLT

7

700-87-11120

BOLT

8

709-74-91860

PLUG

9

07002-12434

O-RING

10

709-74-91510

PLUG

11

07000-11009

O-RING

12

07001-01009

RING,BACK-UP

13

709-25-11390

O-RING

14

07040-11409

PLUG

15

07002-01423

O-RING

16

07043-70108

PLUG

17

700-42-31460

VALVE

18

700-42-31470

SPRING

19

700-84-11320

PLUG

20

07002-13034

O-RING

21

SPOOL,SERVICE

22

SPOOL,ARM HIGH

23

SPOOL,BOOM LOW

24

01252-30625

BOLT

25

700-84-13790

JOINT

26

07002-11223

O-RING

27

700-84-13781

RETAINER

28

700-84-15730

SPRING

29

700-84-15720

SPRING

30

700-84-15740

SPRING

31

700-84-12590

SPACER

32

700-84-13490

PLATE

33

700-84-12510

CASE

34

700-84-11240

O-RING

35

01252-30616

BOLT

|36

709-70-91300

ORIFICE ASS'Y

36

ORIFICE

37

SENSOR

38

07000-02014

O-RING

39

07002-02434

O-RING

40

709-70-55300

VALVE ASS'Y,RELIEF

41

709-70-74501

VALVE ASS'Y

42

709-20-81201

VALVE ASS'Y,SUCTION

43

709-70-74402

VALVE ASS'Y,SUCTION AND SAFETY

Выбрано товаров: 45