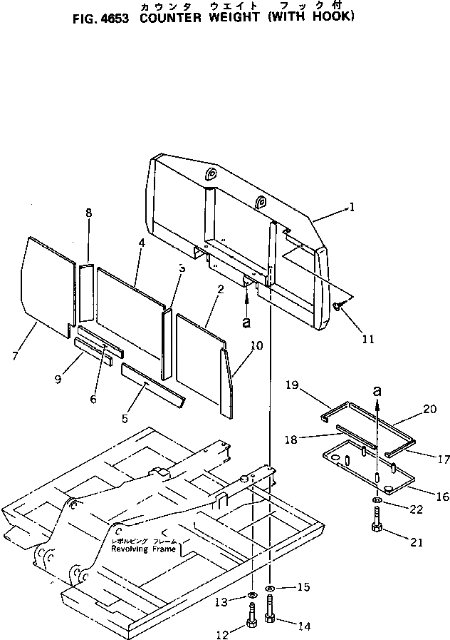
Запчасти Komatsu PC100-5S ПРОТИВОВЕС (С КРЮК) СИСТЕМА УПРАВЛЕНИЯ И ОСНОВНАЯ РАМА

Схема запчастей Komatsu PC100-5S - ПРОТИВОВЕС (С КРЮК) СИСТЕМА УПРАВЛЕНИЯ И ОСНОВНАЯ РАМА
FIT
1:1
100%

Артикул

Название

Примечание

Количество

1

202-46-61232

WEIGHT,COUNTER

2

203-46-56180

SHEET

3

203-46-56250

SHEET

4

203-46-56290

SHEET

5

203-46-56331

SHEET

6

203-46-56170

SHEET

7

203-46-56360

SHEET

8

203-46-56320

SHEET

9

203-46-56340

SHEET

10

203-46-56370

SHEET

11

01370-00508

SCREW

12

203-46-51220

BOLT

13

01643-33080

WASHER

14

203-46-51250

BOLT

15

01643-33080

WASHER

16

203-54-57711

COVER

|16

203-54-57710

COVER

17

203-54-58480

SEAL

|17

09412-10001

SEAL

|17

203-54-57720

SEAL

18

201-54-64380

SEAL

19

203-54-57740

SEAL

20

09412-10009

SEAL

21

01011-51015

BOLT

|21

01011-51010

BOLT

22

01643-31032

WASHER

Выбрано товаров: 26