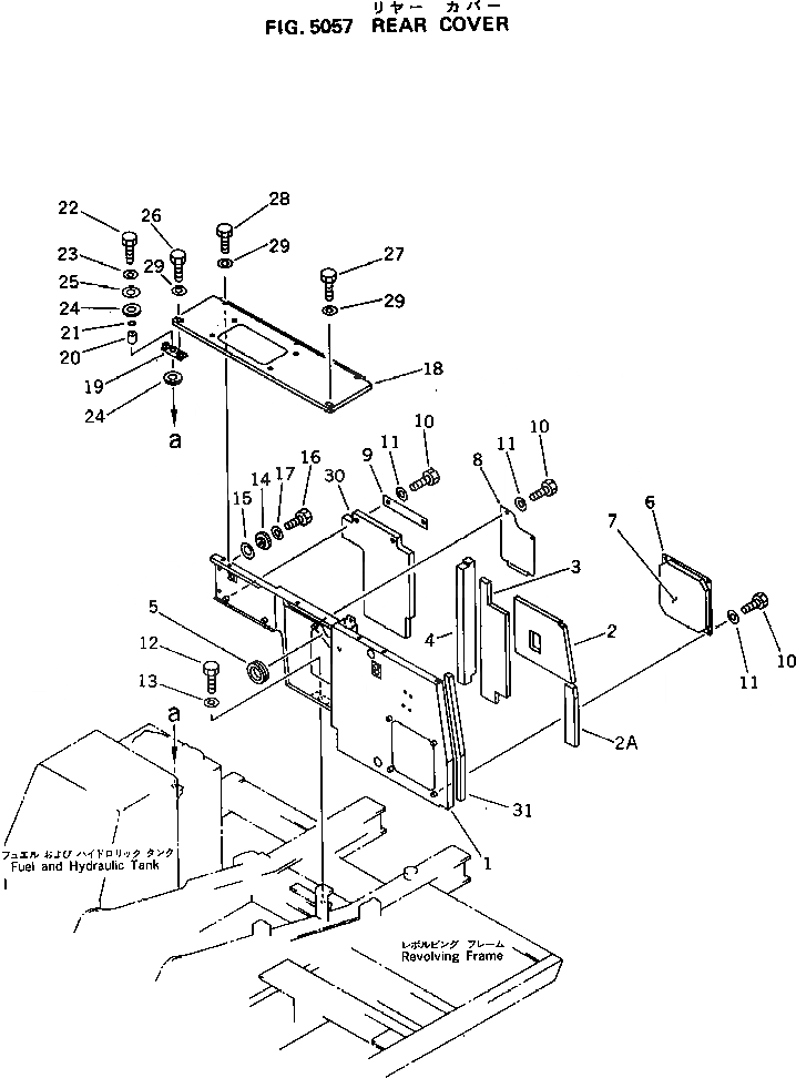
Запчасти Komatsu PC100-5S ЗАДН. КРЫШКА ЧАСТИ КОРПУСА

Схема запчастей Komatsu PC100-5S - ЗАДН. КРЫШКА ЧАСТИ КОРПУСА
FIT
1:1
100%

Артикул

Название

Примечание

Количество

1

203-54-56172

COVER ASS'Y

|1

203-973-5980

COVER ASS'Y,(WITH ADD. FILTER¤ FOR ATT.)

2

203-54-52710

SHEET

2A

203-54-52720

SHEET

3

203-54-52471

SHEET

4

203-54-56720

SHEET

5

20D-54-41470

TRIM

6

203-54-56680

COVER

7

203-54-56870

SHEET

8

203-54-56670

COVER

9

203-54-58290

COVER

10

01010-51020

BOLT

11

01643-31032

WASHER

12

01010-51025

BOLT

13

01643-31032

WASHER

14

203-54-56920

COLLAR

15

113-54-31350

SEAT

16

01010-51035

BOLT

17

01643-31032

WASHER

18

203-978-5570

COVER

19

203-54-56850

BRACKET

20

20X-62-21550

SPACER

21

07000-03025

O-RING

22

01010-51250

BOLT

23

01643-31232

WASHER

24

203-62-42770

CUSHION

25

566-35-42430

PLATE

26

01016-51040

BOLT

27

01010-51050

BOLT

28

01010-51025

BOLT

29

01643-31032

WASHER

30

203-54-55910

SHEET

31

203-54-58420

SEAL

Выбрано товаров: 33