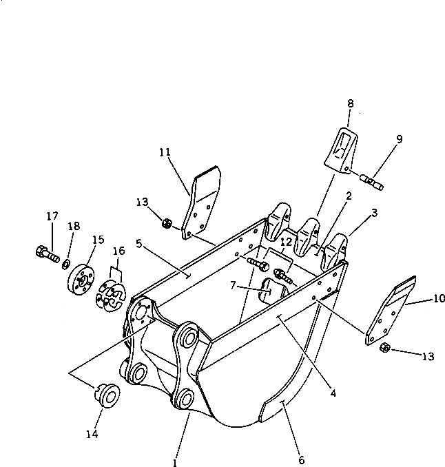
Запчасти Komatsu PC100-5Z КОВШ¤ .M ШИР. MM (ГОРИЗОНТАЛЬН. ПАЛЕЦ) РАБОЧЕЕ ОБОРУДОВАНИЕ

Схема запчастей Komatsu PC100-5Z - КОВШ¤ .M ШИР. MM (ГОРИЗОНТАЛЬН. ПАЛЕЦ) РАБОЧЕЕ ОБОРУДОВАНИЕ
FIT
1:1
100%

Артикул

Название

Примечание

Количество

|1

203-926-0210

BUCKET ASS'Y

1

203-926-5240

BUCKET

2

203-926-5230

PLATE (WELDED)

3

205-939-7120

ADAPTER (WELDED)

4

202-70-63132

PLATE,L.H. (WELDED)

5

202-70-63142

PLATE,R.H. (WELDED)

6

202-70-63250

PLATE (WELDED)

7

203-926-5250

PLATE (WELDED)

8

205-70-19570

TOOTH

9

09244-02496

PIN

10

202-70-63161

CUTTER,L.H.

11

202-70-63171

CUTTER,R.H.

12

208-32-11231

BOLT

13

01803-02228

NUT

14

202-70-64250

SPACER

15

202-70-64240

PLATE

16

202-70-64210

SPACER¤ 0.5MM

|16

202-70-64220

SPACER¤ 1.0MM

17

01010-51470

BOLT

18

01643-31445

WASHER

Выбрано товаров: 20