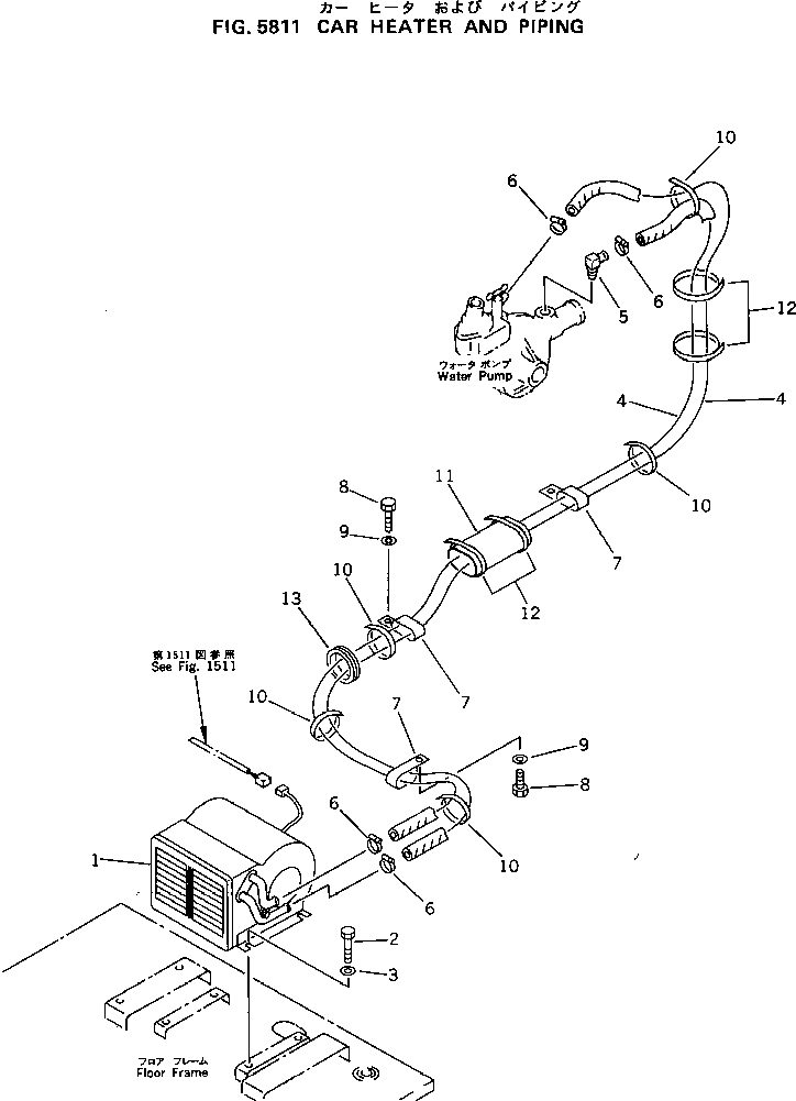
Запчасти Komatsu PC100-5Z ОБОГРЕВАТЕЛЬ. И ТРУБЫ ЧАСТИ КОРПУСА

Схема запчастей Komatsu PC100-5Z - ОБОГРЕВАТЕЛЬ. И ТРУБЫ ЧАСТИ КОРПУСА
FIT
1:1
100%

Артикул

Название

Примечание

Количество

1

205-977-K110

HEATER ASS'Y

2

01010-51020

BOLT

3

01643-31032

WASHER

4

09483-00431

HOSE

5

20S-977-1170

ELBOW

6

09480-10100

CLAMP

7

176-911-4170

CLIP

8

01010-51020

BOLT

9

01643-31032

WASHER

10

08034-00519

BAND

11

203-62-41150

COVER

12

08034-00823

BAND

13

08037-05016

GROMMET

Выбрано товаров: 13