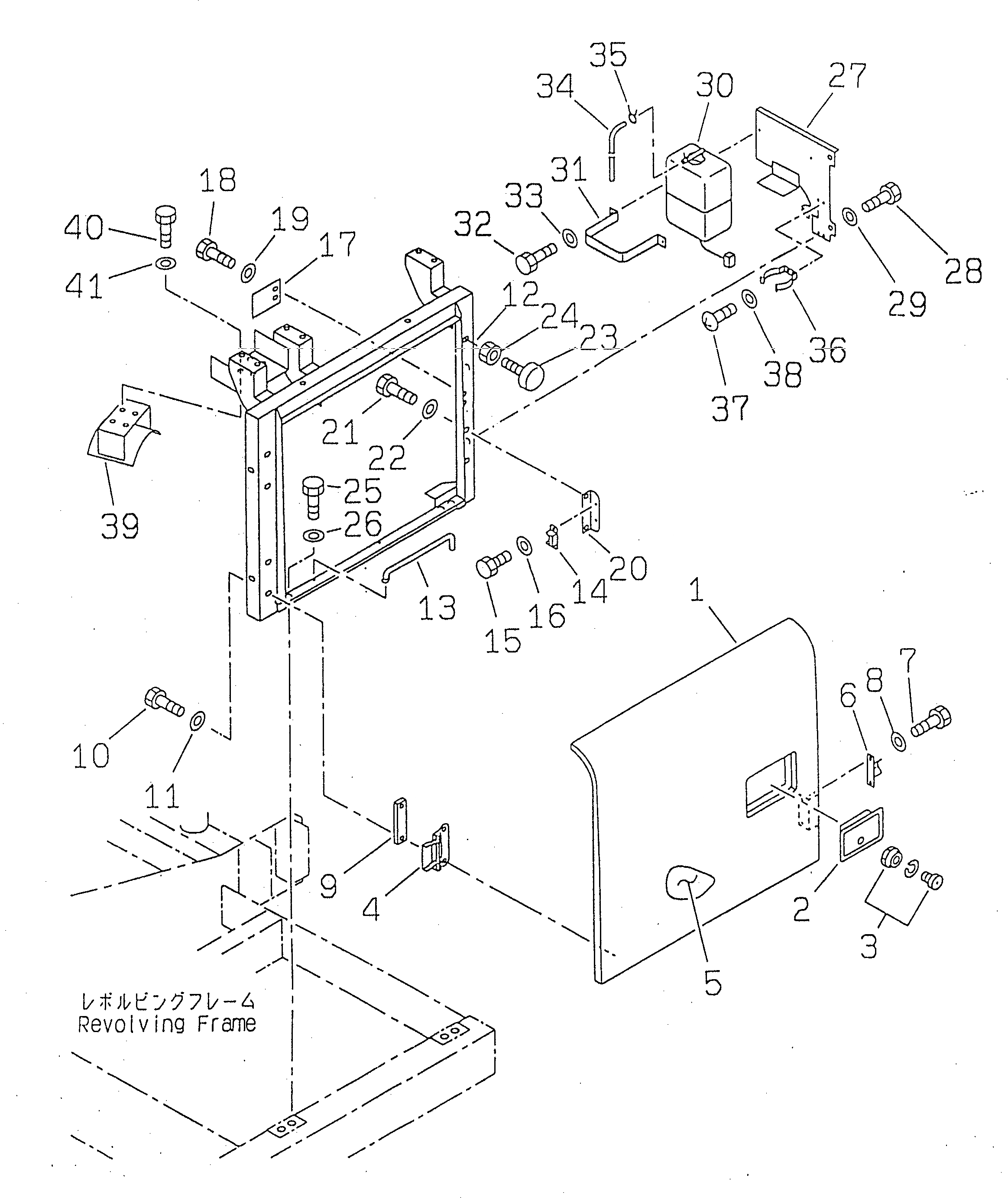
Запчасти Komatsu PC100-6 ДВЕРЬ ЛЕВ.(№-9) ЧАСТИ КОРПУСА

Схема запчастей Komatsu PC100-6 - ДВЕРЬ ЛЕВ.(№-9) ЧАСТИ КОРПУСА
FIT
1:1
100%

Артикул

Название

Примечание

Количество

1

203-54-62212

COVER,L.H.

2

421-54-11372

LOCK ASS'Y (WELDED)

3

421-54-11381

LOCK

4

203-54-62180

HINGE (WELDED)

5

203-54-62251

SHEET

6

205-54-53550

DOVE TAIL

7

01010-50612

BOLT

8

01643-30623

WASHER

9

203-54-62190

PLATE

10

01010-51235

BOLT

11

01643-31232

WASHER

12

203-54-63112

FRAME

13

20Y-54-29232

BAR

14

205-54-51970

DOVE TAIL

15

01010-50612

BOLT

16

01643-30623

WASHER

17

20Y-54-28181

PLATE

18

01010-51220

BOLT

19

01643-31232

WASHER

20

20Y-54-28170

BRACKET

21

01010-51220

BOLT

22

01643-31232

WASHER

23

20Y-54-11611

STOPPER

24

01580-11008

NUT

25

01010-51230

BOLT

26

01643-31232

WASHER

27

203-03-61191

BRACKET

28

01010-51220

BOLT

29

01643-31232

WASHER

30

20Y-06-15240

TANK ASS'Y,RESERVE (FOR RADIATOR)

30

205-03-71532

CAP

31

203-03-56650

BRACKET

32

01010-50820

BOLT

33

01643-30823

WASHER

34

20Y-03-21450

HOSE

35

206-03-43340

CLIP

36

203-54-63230

CLAMP

37

01220-40616

SCREW

38

01641-20608

WASHER

39

203-54-63191

BRACKET

40

01010-51230

BOLT

41

01643-31232

WASHER

Выбрано товаров: 42