Запчасти Komatsu PC100-6 КАБИНА (КАБИНА (INКАПОТ) (С ЧАСТИ КОРПУСА)(№30025-31999) ) (ЗАМОК ДВЕРИ)(№-) КАБИНА ОПЕРАТОРА И СИСТЕМА УПРАВЛЕНИЯ

Схема запчастей Komatsu PC100-6 - КАБИНА (КАБИНА (INКАПОТ) (С ЧАСТИ КОРПУСА)(№30025-31999) ) (ЗАМОК ДВЕРИ)(№-) КАБИНА ОПЕРАТОРА И СИСТЕМА УПРАВЛЕНИЯ
FIT
1:1
100%

Артикул

Название

Примечание

Количество

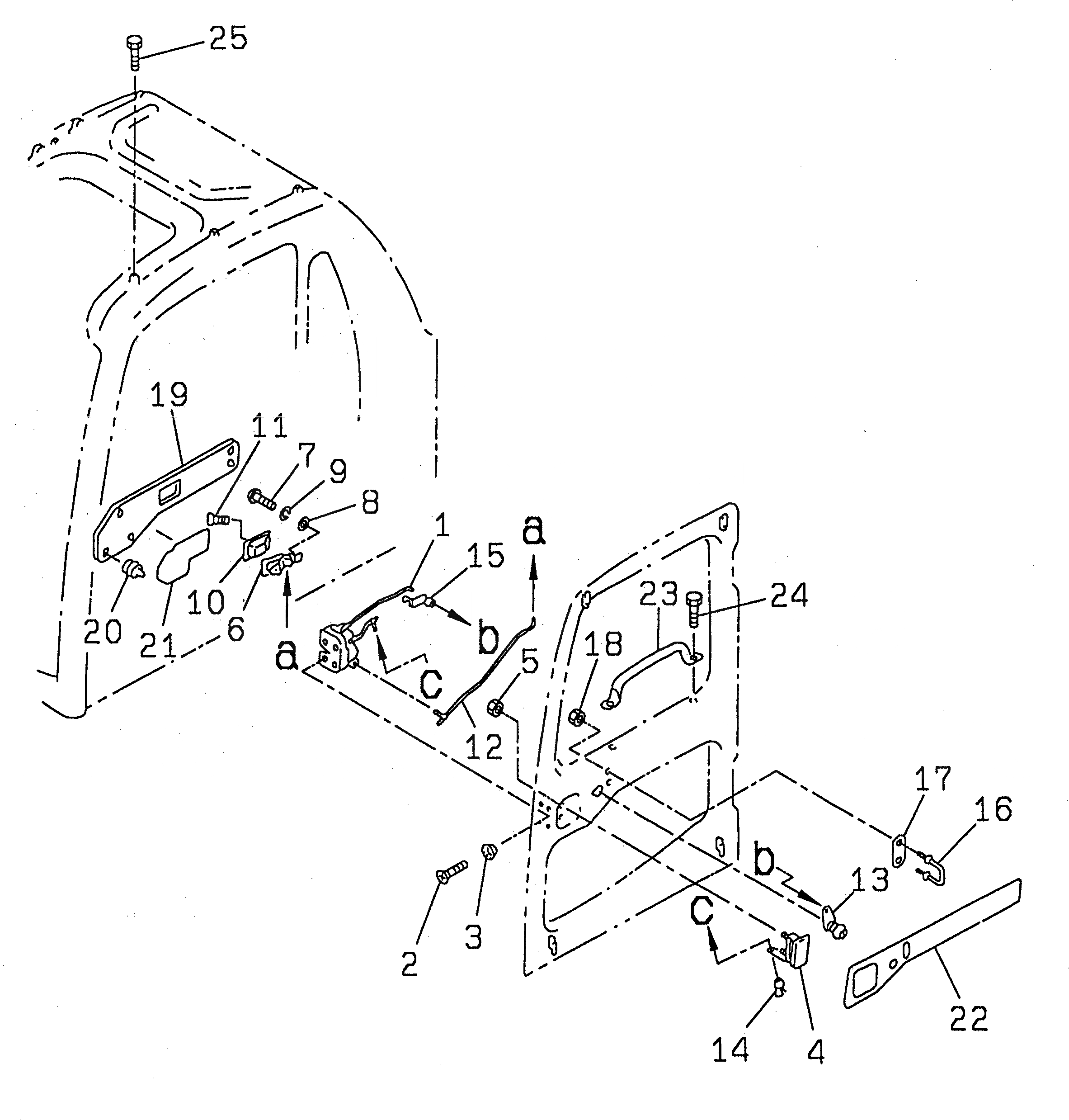
|1

20Y-54-00514

DOOR ASS'Y

|1

20Y-54-00513

DOOR ASS'Y

|1

20Y-54-00512

DOOR ASS'Y

|1

20Y-54-00511

DOOR ASS'Y

|1

20Y-54-00510

DOOR ASS'Y

I

20Y-54-35941

LATCH,DOOR

|1

20Y-54-35940

LATCH,DOOR

2

01240-00616

SCREW

3

195-Z11-1690

WASHER

4

20Y-54-35932

HANDLE ASS'Y

|4

20Y-54-35931

HANDLE ASS'Y

5

01584-00605

NUT

6

20Y-54-35910

HANDLE

7

01220-40512

SCREW

8

01641-20508

WASHER

9

01601-20513

WASHER

10

20Y-54-35920

COVER

11

20Y-54-35880

SCREW

12

20Y-54-35951

ROD ASS'Y

13

20Y-54-35890

LOCK ASS'Y

14

14X-911-1740

SNAP,ROD

15

205-54-71840

SNAP

16

20Y-54-35961

STRIKER

17

20Y-54-35710

PLATE

18

01584-01008

NUT

19

20Y-54-35760

COVER

20

20Y-54-14560

CLIP ASS'Y

21

20Y-54-35771

SEAL

22

20Y-54-35753

PLATE

|22

20Y-54-35752

PLATE

|22

20Y-54-35751

PLATE

23

20Y-54-35690

GRIP

24

01240-00820

SCREW

25

01010-31218

BOLT,(WITHOUT HEAD GUARD)

Выбрано товаров: 34