Качественные детали и логистика
Оригинальные и аналоговые запчасти с доставкой по России, Казахстану и Беларуси
©2022 PartSell ООО "Система" ИНН 2463123282 ОГРН 1212400004838
Центральный офис: г. Красноярск, Академика Киренского, д.87, пом.4
Телефон: 8 (800) 777-65-74 Email: zakaz@partsell.ru
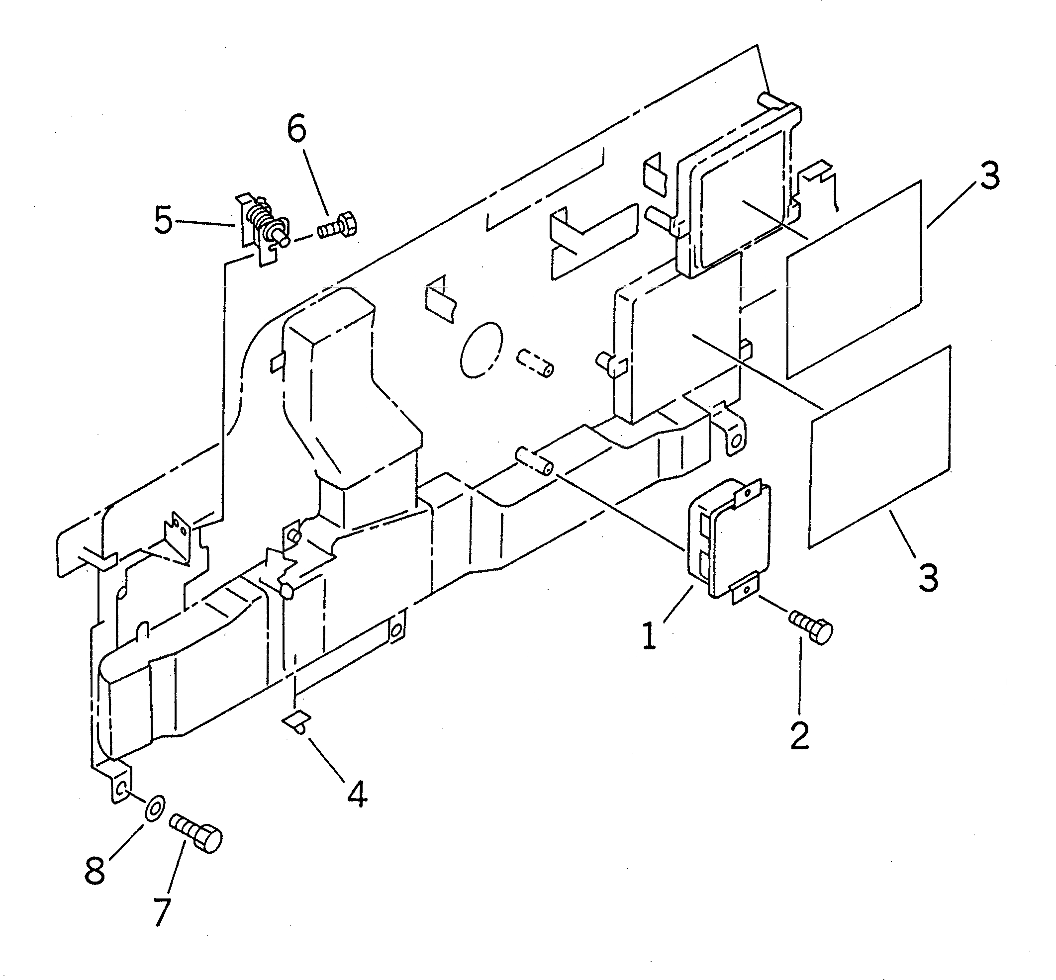
КАБИНА (ДВОРНИКИ УПРАВЛ-Е¤ БЛОКИР. И РЫЧАГ СОЕДИНИТЕЛЬН. ЗВЕНО)(№-9)
№
Артикул
Название
Примечание
Количество
1
20Y-06-23640
CONTROLLER,WIPER
2
01435-00630
BOLT
3
20Y-06-24220
SHEET
4
08051-00801
CLIP
5
20Y-06-23521
LOCK
6
01435-00820
7
01010-51020
8
01643-31032
WASHER
Выбрано товаров: 0