Запчасти Komatsu PC100-6E ТОПЛИВН. ЛИНИЯ(№7-999) ТОПЛИВН. БАК. AND КОМПОНЕНТЫ

Схема запчастей Komatsu PC100-6E - ТОПЛИВН. ЛИНИЯ(№7-999) ТОПЛИВН. БАК. AND КОМПОНЕНТЫ
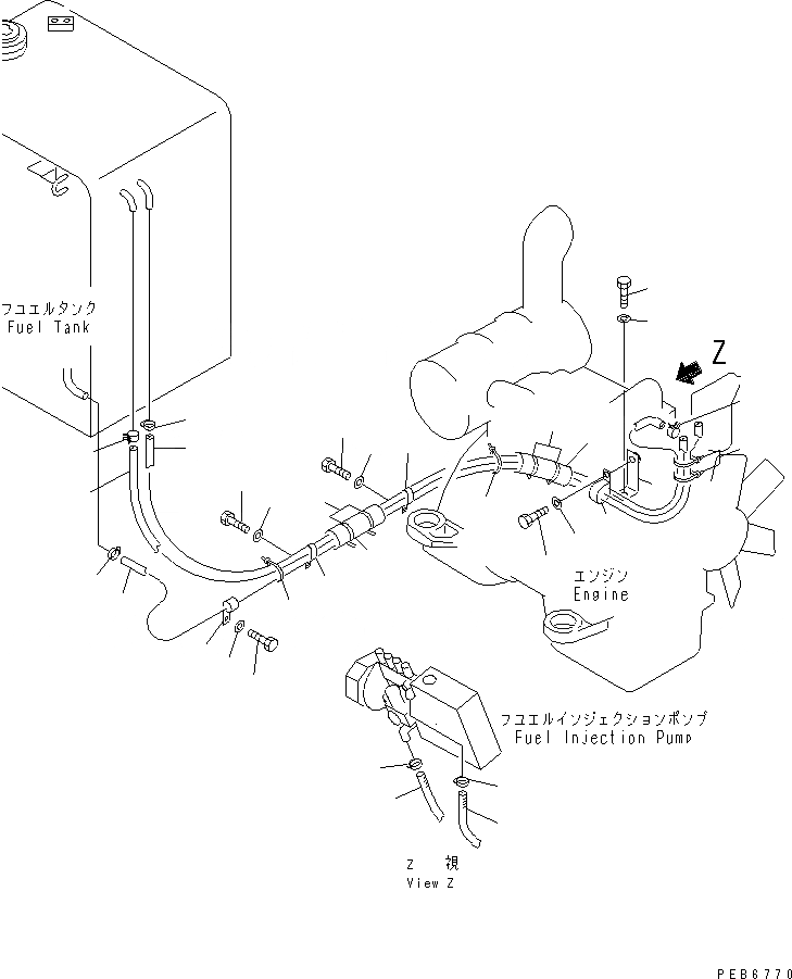
1
2
3
4
5
5
6
6
7
7
8
9
10
10
11
11
12
12
12
13
13
14
14
15
15
16
16
16
16
17
17
18
18
FIT
1:1
100%

Артикул

Название

Примечание

Количество

1

07270-40422

TUBE

2

08036-01814

CLIP

3

01010-51220

BOLT

4

01643-31232

WASHER

5

141-06-11220

CLIP

6

01010-51220

BOLT

7

01643-31232

WASHER

8

04435-51612

CLIP

9

203-04-62110

BRACKET

10

01010-51225

BOLT

11

01643-31232

WASHER

12

08034-00536

BAND

13

205-62-53780

COVER

14

08034-00834

BAND

15

07285-00080

CLIP

16

07281-00197

CLAMP

17

07288-01022

HOSE

18

07288-01024

HOSE

Выбрано товаров: 18