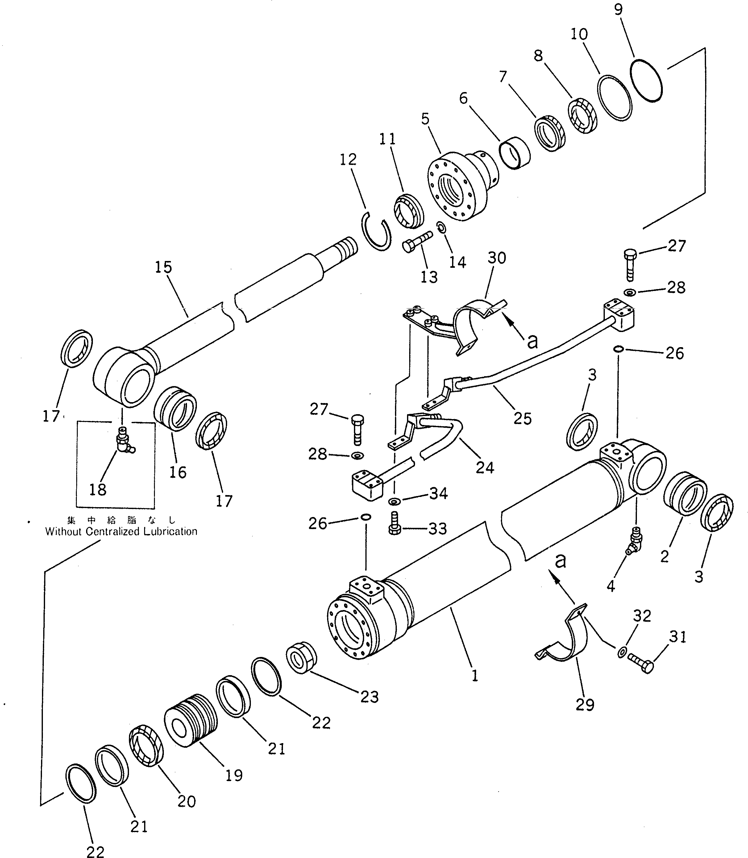
Запчасти Komatsu PC100-6E ЦИЛИНДР СТРЕЛЫ(№-999) ОСНОВН. КОМПОНЕНТЫ И РЕМКОМПЛЕКТЫ

Схема запчастей Komatsu PC100-6E - ЦИЛИНДР СТРЕЛЫ(№-999) ОСНОВН. КОМПОНЕНТЫ И РЕМКОМПЛЕКТЫ
FIT
1:1
100%

Артикул

Название

Примечание

Количество

G1

202-63-X2303

CYLINDER GROUP,(L.H.)

|G1

202-63-X2302

CYLINDER GROUP,(L.H.)

G2

202-63-X2313

CYLINDER GROUP,(R.H.)

|G2

202-63-X2312

CYLINDER GROUP,(R.H.)

|1

202-63-02303

CYLINDER ASS'Y,BOOM

|1

202-63-02302

CYLINDER ASS'Y,BOOM

1

202-63-54543

CYLINDER

|1

202-63-54542

CYLINDER

2

707-76-70230

BUSHING

3

07145-00070

SEAL,DUST (KIT)

4

07020-00675

FITTING,GREASE

5

707-27-95620

HEAD,CYLINDER

6

707-52-90400

BUSHING

7

707-51-65030

PACKING,ROD (KIT)

8

707-51-65630

RING,BUFFER (KIT)

9

07000-15090

O-RING (KIT)

10

07001-05090

RING,BACK-UP (KIT)

11

144-63-92170

SEAL,DUST (KIT)

12

07179-12079

RING,SNAP

13

01010-81465

BOLT

14

705-17-04980

WASHER

15

202-63-54320

ROD

16

707-76-70230

BUSHING

17

07145-00070

SEAL,DUST (KIT)

18

07020-00675

FITTING,GREASE

19

707-36-95410

PISTON

20

707-44-95180

RING,PISTON (KIT)

21

707-39-95120

RING,WEAR (KIT)

22

707-44-95911

RING

23

07165-14547

NUT,NYLON

24

202-63-54572

TUBE,L.H.

|24

202-63-54672

TUBE,R.H.

25

202-63-54380

TUBE,L.H.

|25

202-63-54480

TUBE,R.H.

26

07000-13025

O-RING (KIT)

27

01010-50850

BOLT

28

01643-50823

WASHER

29

707-88-96950

BAND

30

707-88-95480

BRACKET

31

01010-51035

BOLT

32

01643-51032

WASHER

33

01010-51030

BOLT

34

01643-31032

WASHER

|K

707-98-36200

SERVICE KIT

Выбрано товаров: 44