Запчасти Komatsu PC100-6S КАБИНА (ДВОРНИКИ УПРАВЛ-Е¤ БЛОКИР. И РЫЧАГ СОЕДИНИТЕЛЬН. ЗВЕНО)(№-9) КАБИНА ОПЕРАТОРА И СИСТЕМА УПРАВЛЕНИЯ

Схема запчастей Komatsu PC100-6S - КАБИНА (ДВОРНИКИ УПРАВЛ-Е¤ БЛОКИР. И РЫЧАГ СОЕДИНИТЕЛЬН. ЗВЕНО)(№-9) КАБИНА ОПЕРАТОРА И СИСТЕМА УПРАВЛЕНИЯ
FIT
1:1
100%

Артикул

Название

Примечание

Количество

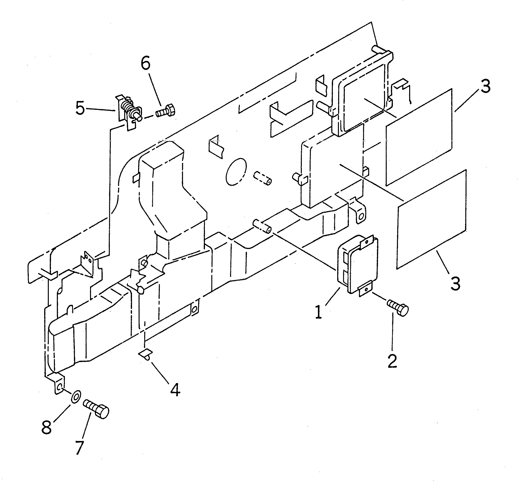
1

20Y-06-23640

CONTROLLER,WIPER

2

01435-00630

BOLT

3

20Y-06-24220

SHEET

4

08051-00801

CLIP

5

20Y-06-23521

LOCK

6

01435-00820

BOLT

7

01010-51020

BOLT

8

01643-31032

WASHER

Выбрано товаров: 8