Запчасти Komatsu PC100-6Z ТОПЛИВН. БАК.(№9-) ТОПЛИВН. БАК. AND КОМПОНЕНТЫ

Схема запчастей Komatsu PC100-6Z - ТОПЛИВН. БАК.(№9-) ТОПЛИВН. БАК. AND КОМПОНЕНТЫ
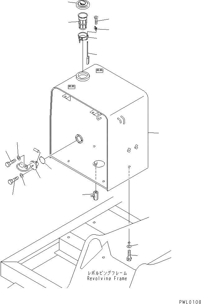
1
2
3
4
5
6
7
8
9
10
11
11
12
12
13
14
FIT
1:1
100%

Артикул

Название

Примечание

Количество

|$5

203-04-00113

FUEL TANK ASS'Y

|$6

203-04-00112

FUEL TANK ASS'Y

1

TANK

1

TANK

2

205-04-71141

STRAINER

|$10

20Y-04-21550

FLOAT ASS'Y

3

GUIDE

4

20Y-04-21570

FLOAT

5

20Y-04-21580

CAP

6

SCREW

7

20Y-04-11161

CAP

7

20Y-04-11160

CAP

8

07700-50240

VALVE

9

7861-92-5810

SENSOR

10

07000-13050

O-RING

10

07000-03050

O-RING

11

01010-80612

BOLT

12

01643-30623

WASHER

13

01010-81635

BOLT

14

01643-31645

WASHER

Выбрано товаров: 0