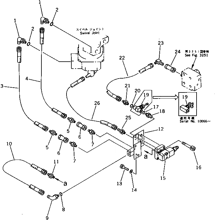
Запчасти Komatsu PC1000-1 HIC ТРУБЫ (ПОВОРОТНОЕ СОЕДИНЕНИЕ - РЕДУКЦИОНН. КЛАПАН) ХОДОВАЯ

Схема запчастей Komatsu PC1000-1 - HIC ТРУБЫ (ПОВОРОТНОЕ СОЕДИНЕНИЕ - РЕДУКЦИОНН. КЛАПАН) ХОДОВАЯ
FIT
1:1
100%

Артикул

Название

Примечание

Количество

1

07235-10210

ELBOW

2

07002-11423

O-RING

3

07096-20208

HOSE

4

07096-20210

HOSE

5

22W-62-17710

NIPPLE

6

209-60-52170

VALVE,CHECK

7

209-62-54410

NIPPLE

8

07002-11423

O-RING

9

07235-10210

ELBOW

10

07096-00205

HOSE

11

209-62-15720

NIPPLE

12

209-62-54540

BRACKET

13

01010-51225

BOLT

14

01643-31232

WASHER

15

21N-60-12110

VALVE

16

01252-40840

BOLT

17

07002-11423

O-RING

18

21T-62-74411

NIPPLE

18

21T-62-74410

NIPPLE

19

21T-60-12251

VALVE,CHECK

19

21T-60-12250

VALVE,CHECK

20

07002-11423

O-RING

21

203-62-65430

NIPPLE

21

209-62-54720

NIPPLE

21

07230-10210

UNION

22

07123-00206

HOSE

23

208-72-17210

ELBOW

24

209-60-52170

VALVE,CHECK

25

176-62-15490

NIPPLE

26

07102-20307

HOSE

Выбрано товаров: 30