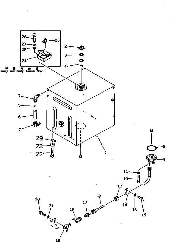
Запчасти Komatsu PC1000-1 ТОПЛИВН. БАК. (ДЛЯ ЗАПЫЛЕНН. РАЙОНОВ) (КРОМЕ ЯПОН.) КОМПОНЕНТЫ ДВИГАТЕЛЯ И ЭЛЕКТРИКА

Схема запчастей Komatsu PC1000-1 - ТОПЛИВН. БАК. (ДЛЯ ЗАПЫЛЕНН. РАЙОНОВ) (КРОМЕ ЯПОН.) КОМПОНЕНТЫ ДВИГАТЕЛЯ И ЭЛЕКТРИКА
FIT
1:1
100%

Артикул

Название

Примечание

Количество

1

21N-04-11310

TANK

2

07050-41200

CAP

3

07050-21202

GASKET

4

07056-18416

STRAINER

5

208-04-19160

BALL,FLOAT

6

203-60-31160

TUBE

7

208-04-19130

ELBOW

8

07000-05170

O-RING

9

209-04-11122

FLANGE

10

01010-51235

BOLT

11

01643-31232

WASHER

12

07102-20413

HOSE

13

08037-03620

GROMMET

14

140-06-18440

CLIP

15

01010-51225

BOLT

16

01643-31232

WASHER

17

10E-60-16360

NIPPLE

18

07700-40460

VALVE

19

195-04-11431

ELBOW

20

01010-51025

BOLT

21

01643-31032

WASHER

22

01010-52060

BOLT

23

21T-01-11130

WASHER

24

209-04-51320

COVER

25

205-60-71220

LOCK ASS'Y

25

205-54-76280

ROTOR ASS'Y

26

01010-51016

BOLT

27

01643-31032

WASHER

28

01643-31232

WASHER

29

21N-46-11220

SHIM, 0.5MM

29

21N-46-11230

SHIM, 1.0MM

Выбрано товаров: 31