Запчасти Komatsu PC1000-1 ТОПЛИВН. БАК. (С АНТИВАНДАЛЬН.)(№77-) КОМПОНЕНТЫ ДВИГАТЕЛЯ И ЭЛЕКТРИКА

Схема запчастей Komatsu PC1000-1 - ТОПЛИВН. БАК. (С АНТИВАНДАЛЬН.)(№77-) КОМПОНЕНТЫ ДВИГАТЕЛЯ И ЭЛЕКТРИКА
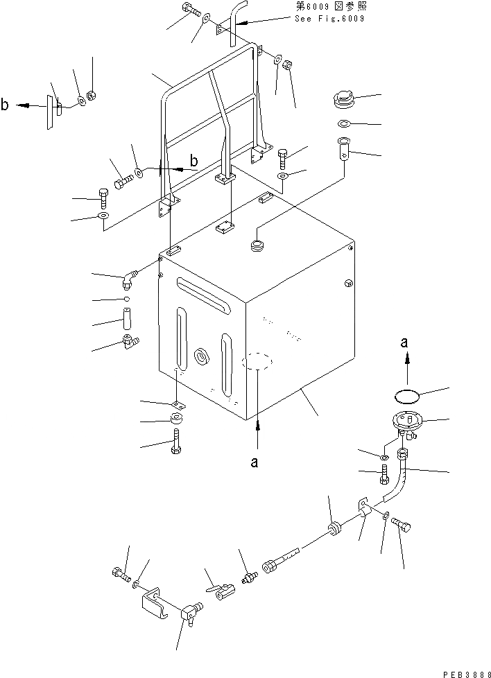
1
2
3
4
5
6
7
7
8
9
10
11
12
13
14
15
16
17
18
19
20
21
22
23
24
25
26
27
28
28
29
30
30
31
31
32
32
32
32
FIT
1:1
100%

Артикул

Название

Примечание

Количество

|$2

21N-04-00030

FUEL TANK ASS'Y

1

TANK

2

07091-21200

CAP

3

07050-21202

GASKET

4

07056-18416

STRAINER

5

208-04-19160

BALL,FLOAT

6

203-60-31160

TUBE

7

208-04-19130

ELBOW

8

07000-05170

O-RING

9

209-04-11122

FLANGE

10

01010-81235

BOLT

11

01643-31232

WASHER

12

07102-20413

HOSE

13

08037-03620

GROMMET

14

140-06-18440

CLIP

15

01010-81225

BOLT

16

01643-31232

WASHER

17

10E-60-16360

NIPPLE

18

07700-40460

VALVE

19

195-04-11431

ELBOW

20

01010-81025

BOLT

21

01643-31032

WASHER

22

01010-82060

BOLT

23

21T-01-11130

WASHER

24

21N-46-11220

SHIM, 0.5MM

24

21N-46-11230

SHIM, 1.0MM

25

21N-54-14470

HAND RAIL

26

01010-81235

BOLT

27

01010-81255

BOLT

28

175-54-34170

WASHER

29

21N-54-14490

CLAMP

30

01010-81235

BOLT

31

01580-11210

NUT

32

175-54-34170

WASHER

Выбрано товаров: 34