Запчасти Komatsu PC1000-1 ПРАВ. КРЫШКА(ЧАСТИ КОРПУСА И COVER) ЧАСТИ КОРПУСА

Схема запчастей Komatsu PC1000-1 - ПРАВ. КРЫШКА(ЧАСТИ КОРПУСА И COVER) ЧАСТИ КОРПУСА
FIT
1:1
100%

Артикул

Название

Примечание

Количество

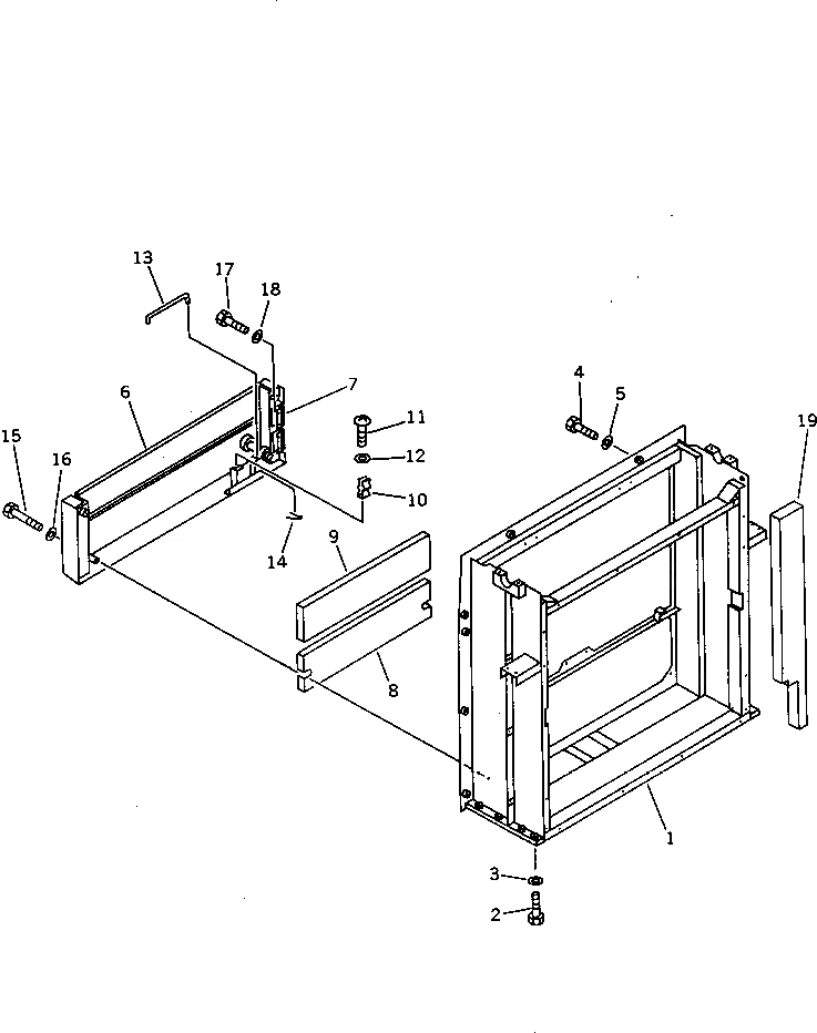
1

21N-03-11110

GUARD

2

01010-51655

BOLT

3

01643-31645

WASHER

4

01010-51230

BOLT

5

01643-31232

WASHER

6

21N-54-12160

COVER

7

21K-54-22460

HINGE

8

21N-54-12170

SHEET

9

21N-54-12180

SHEET

10

20B-54-12210

SPRING

11

01220-40408

SCREW

12

01641-20405

WASHER

13

205-54-64140

BAR

14

04050-13018

PIN,COTTER

15

01011-51230

BOLT

16

01643-31232

WASHER

17

01010-51230

BOLT

18

01643-31232

WASHER

19

21N-54-11621

SEAL

19

21N-54-11620

SEAL

Выбрано товаров: 20