Запчасти Komatsu PC1000-1 НИЖН. КРЕПЛЕНИЕ КАБИНА (ЗАДН. ОКНА ЖЕСТК.) (/9) (ДЛЯ ВЕРХН. ЗАЩИТА)(№-) ЧАСТИ КОРПУСА

Схема запчастей Komatsu PC1000-1 - НИЖН. КРЕПЛЕНИЕ КАБИНА (ЗАДН. ОКНА ЖЕСТК.) (/9) (ДЛЯ ВЕРХН. ЗАЩИТА)(№-) ЧАСТИ КОРПУСА
FIT
1:1
100%

Артикул

Название

Примечание

Количество

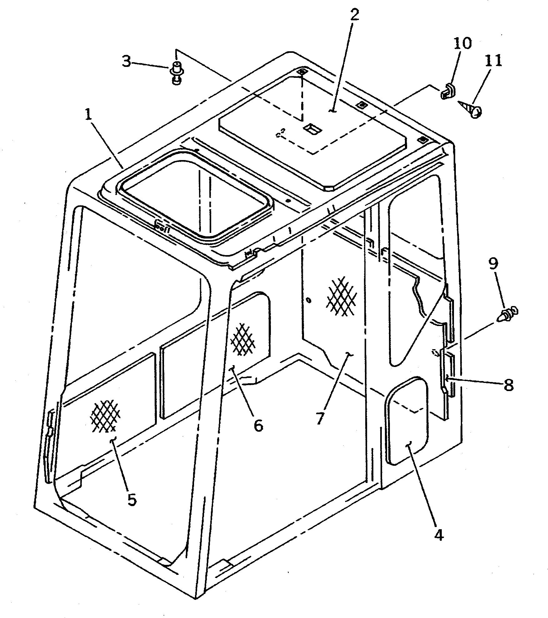
|$1

21N-54-00121

OPERATOR'S CAB ASS'Y

|$2

21N-54-00120

OPERATOR'S CAB ASS'Y

1

20Y-54-11924

COVER

2

20Y-54-11961

SHEET

3

20Y-54-13870

RIVET

4

20Y-54-11952

LINING

5

20Y-54-13432

LINING

6

20Y-54-11942

LINING

7

20Y-54-11913

COVER

8

20Y-54-13933

SHEET

9

20Y-54-14560

CLIP ASS'Y

10

205-54-51250

HANGER

11

01370-00412

SCREW

Выбрано товаров: 0