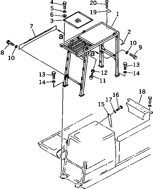
Запчасти Komatsu PC1000-1 F.O.P.S. (ДЛЯ НИЗ. КАБИНА) (ДЛЯ ФРОНТАЛЬН. ЗАЩИТЫ)(№-) ЧАСТИ КОРПУСА

Схема запчастей Komatsu PC1000-1 - F.O.P.S. (ДЛЯ НИЗ. КАБИНА) (ДЛЯ ФРОНТАЛЬН. ЗАЩИТЫ)(№-) ЧАСТИ КОРПУСА
FIT
1:1
100%

Артикул

Название

Примечание

Количество

1

209-956-6250

GUARD

2

209-956-6141

SEAL

3

209-956-6150

COVER

4

01010-51230

BOLT

5

01643-31232

WASHER

6

21N-30-11340

COLLAR

7

21N-956-1210

BRACKET

7

209-956-6130

BRACKET

8

01010-51640

BOLT

9

01010-51655

BOLT

10

01643-31645

WASHER

11

09453-00002

STOPPER

12

01580-11210

NUT

13

01010-51645

BOLT

14

01643-31645

WASHER

15

21N-956-1180

BRACKET

16

01220-40412

SCREW

17

01601-20410

WASHER,SPRING

18

21N-956-1192

COVER

19

09660-20100

PLATE, SAFETY

20

04418-13060

SCREW

Выбрано товаров: 21