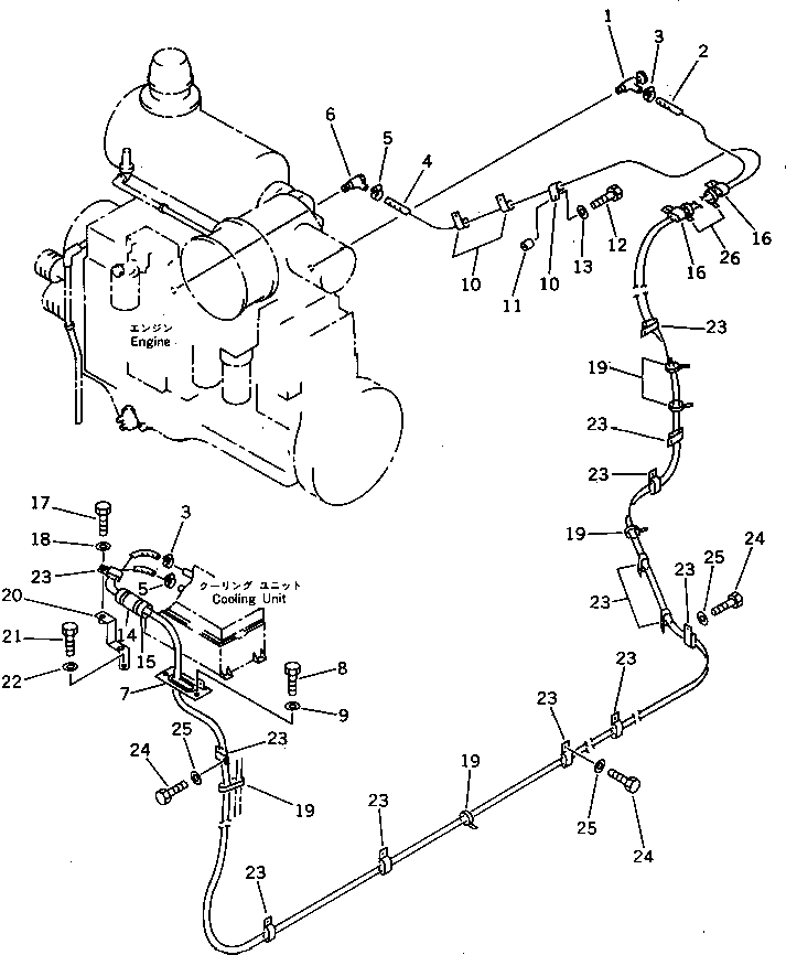
Запчасти Komatsu PC1000-1 КОНДИЦ. ВОЗДУХА (ЛИНИЯ ОБОГРЕВАТЕЛЯ) ЧАСТИ КОРПУСА

Схема запчастей Komatsu PC1000-1 - КОНДИЦ. ВОЗДУХА (ЛИНИЯ ОБОГРЕВАТЕЛЯ) ЧАСТИ КОРПУСА
FIT
1:1
100%

Артикул

Название

Примечание

Количество

1

09482-20000

VALVE

2

09483-00490

HOSE,2M.F/HI-CAB

2

09483-00480

HOSE,1M.F/HI-CAB

2

09483-00471

HOSE,(FOR LOW CAB)

3

09480-10100

CLAMP

3

07281-00259

CLAMP

4

09486-00499

HOSE,2M.F/HI-CAB

4

09483-00491

HOSE,1M.F/HI-CAB

4

09483-00482

HOSE,(FOR LOW CAB)

5

09480-10100

CLAMP

5

07281-00259

CLAMP

6

202-981-1340

JOINT

7

209-977-5111

PLATE,(FOR HIGH CAB)

7

21N-979-1120

PLATE,(FOR LOW CAB)

8

01010-51025

BOLT

9

01643-31032

WASHER

10

08036-22514

CLIP

11

175-79-83760

SPACER

12

01010-51065

BOLT

13

01643-31032

WASHER

14

205-62-53780

COVER

15

08034-00823

BAND

16

141-06-11220

CLIP

16

176-911-4170

CLIP

17

01010-51025

BOLT

17

01010-51025

BOLT

18

01643-31032

WASHER

18

01643-31032

WASHER

19

08034-00536

BAND

20

205-979-1260

BRACKET

21

01010-51220

BOLT

22

01643-31232

WASHER

23

141-06-11220

CLIP

24

01010-51225

BOLT

25

01643-31232

WASHER

26

08034-00519

BAND

Выбрано товаров: 36