Запчасти Komatsu PC1000-1 ГИДР. НАСОС. NO. (TVC КЛАПАН) (/) (С -STAGE SELECTORMODE OLSS) (КРОМЕ ЯПОН.) УПРАВЛ-Е РАБОЧИМ ОБОРУДОВАНИЕМ

Схема запчастей Komatsu PC1000-1 - ГИДР. НАСОС. NO. (TVC КЛАПАН) (/) (С -STAGE SELECTOR  MODE OLSS) (КРОМЕ ЯПОН.) УПРАВЛ-Е РАБОЧИМ ОБОРУДОВАНИЕМ
FIT
1:1
100%

Артикул

Название

Примечание

Количество

|$0

708-27-02063

HYDRAULIC PUMP ASS'Y

|$1

708-27-02062

HYDRAULIC PUMP ASS'Y

|$2

708-27-02061

HYDRAULIC PUMP ASS'Y

|$3

708-27-02060

HYDRAULIC PUMP ASS'Y,(HPV 160+160)

|$5

708-27-07290

SERVO VALVE ASS'Y,REAR

|$7

708-27-07790

VALVE ASS'Y,TVC

|$8

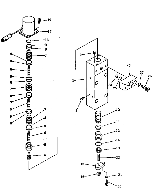
708-23-00320

BODY ASS'Y

1

BODY

2

PLUG

3

EXPANDER

4

708-23-18120

PISTON

5

708-23-18130

SLEEVE

6

708-25-58160

PISTON

7

708-25-58150

SLEEVE

8

07000-12016

O-RING

9

07001-02016

RING,BACK-UP

10

708-23-18161

SPOOL

11

708-23-18170

SEAT

12

708-23-18181

SPRING

13

708-23-15160

PLUG

14

07000-02018

O-RING

15

708-23-18210

COVER

16

01580-10806

NUT

17

708-23-18221

SOLENOID ASS'Y

18

07000-02016

O-RING

19

708-23-18250

BOLT

20

708-25-15320

BOLT

21

01602-20619

WASHER,SPRING

22

708-25-15340

SCREW

23

708-25-58310

FLANGE

24

720-68-11920

FILTER

25

07000-12010

O-RING

26

708-25-58320

BOLT

27

01602-20825

WASHER,SPRING

Выбрано товаров: 34