Запчасти Komatsu PC1000-1 ГИДР. НАСОС.¤ ПОВОРОТН. (ПЕРЕДН. СЕРВОКЛАПАН) (8/) УПРАВЛ-Е РАБОЧИМ ОБОРУДОВАНИЕМ

Схема запчастей Komatsu PC1000-1 - ГИДР. НАСОС.¤ ПОВОРОТН. (ПЕРЕДН. СЕРВОКЛАПАН) (8/) УПРАВЛ-Е РАБОЧИМ ОБОРУДОВАНИЕМ
FIT
1:1
100%

Артикул

Название

Примечание

Количество

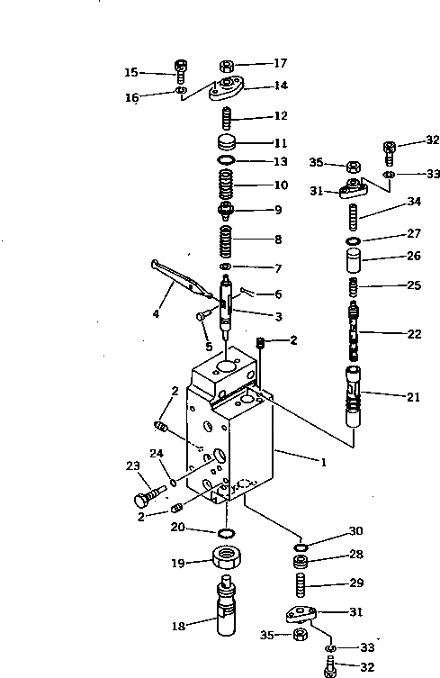
|$0

708-25-02081

PUMP ASS'Y,(HPV 90+90)

|$1

708-25-02080

PUMP ASS'Y,(HPV 90+90)

|$3

708-25-07190

SERVO VALVE ASS'Y,FRONT

|$5

708-25-07390

SERVO VALVE SUB A.,FRONT

|$6

708-23-07021

BODY ASS'Y

1

BODY

2

EXPANDER

3

708-25-15120

PISTON

4

708-25-15270

ARM

5

04205-00514

PIN

6

04050-01210

PIN,COTTER

7

708-25-15130

SEAT

8

708-25-55130

SPRING

9

708-23-15120

SEAT

10

708-25-55120

SPRING

11

708-23-15160

PLUG

12

708-25-15340

SCREW

13

07000-02018

O-RING

14

708-25-15150

COVER

15

708-25-15320

BOLT

16

01602-20619

WASHER,SPRING

17

01580-10806

NUT

18

708-25-65170

PLUG

19

07239-12009

NUT

20

07002-02034

O-RING

21

708-25-15180

SLEEVE

22

708-25-15280

SPOOL

23

708-25-15260

PLUG

24

07002-00823

O-RING

25

708-25-15310

SPRING

26

708-25-15330

SPACER

27

07000-02012

O-RING

28

708-25-15430

PLUG

29

708-25-15340

SCREW

30

07000-02012

O-RING

31

708-25-15250

COVER

32

708-25-15320

BOLT

33

01602-20619

WASHER,SPRING

34

708-25-15340

SCREW

35

01580-10806

NUT

Выбрано товаров: 40