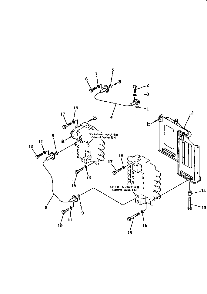
Запчасти Komatsu PC1000-1 УПРАВЛЯЮЩ. КЛАПАН¤ ЛЕВ. TO/FROM ПРЯМ. ХОД КЛАПАН ТРУБЫ УПРАВЛ-Е РАБОЧИМ ОБОРУДОВАНИЕМ

Схема запчастей Komatsu PC1000-1 - УПРАВЛЯЮЩ. КЛАПАН¤ ЛЕВ. TO/FROM ПРЯМ. ХОД КЛАПАН ТРУБЫ УПРАВЛ-Е РАБОЧИМ ОБОРУДОВАНИЕМ
FIT
1:1
100%

Артикул

Название

Примечание

Количество

1

21T-09-11470

O-RING

2

01010-51060

BOLT

3

01643-31032

WASHER

4

21N-62-12930

TUBE

5

21T-09-11480

O-RING

6

01010-51250

BOLT

7

01643-31232

WASHER

8

209-62-52120

TUBE

9

21T-09-11480

O-RING

10

01010-51250

BOLT

11

01643-31232

WASHER

12

209-62-52451

STAND

13

01011-52420

BOLT

14

209-62-52530

COLLAR

15

01011-51605

BOLT

16

01643-31645

WASHER

17

01011-51630

BOLT

18

01643-31645

WASHER

Выбрано товаров: 0