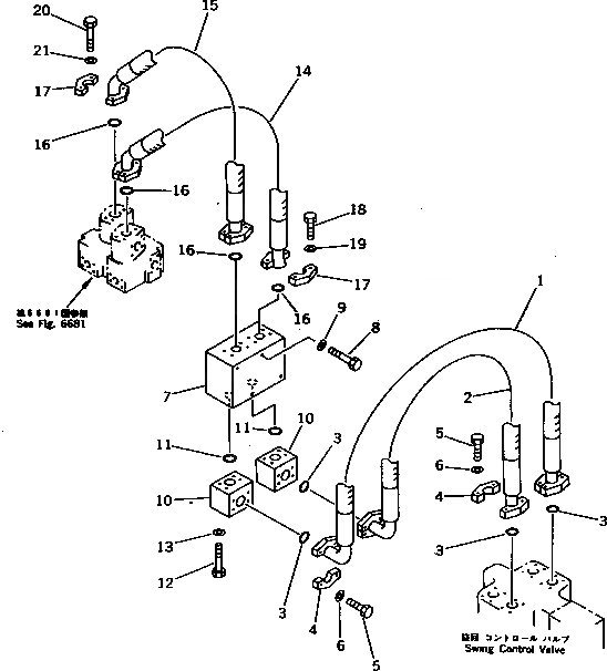
Запчасти Komatsu PC1000-1 FREE ПОВОРОТН. ТРУБЫ (КРОМЕ ЯПОН.) УПРАВЛ-Е РАБОЧИМ ОБОРУДОВАНИЕМ

Схема запчастей Komatsu PC1000-1 - FREE ПОВОРОТН. ТРУБЫ (КРОМЕ ЯПОН.) УПРАВЛ-Е РАБОЧИМ ОБОРУДОВАНИЕМ
FIT
1:1
100%

Артикул

Название

Примечание

Количество

G-1

21N-60-X2000

FREE SWING GROUP

1

07098-01214

HOSE

2

07098-01218

HOSE

3

21T-09-11480

O-RING

4

07371-51260

FLANGE,SPLIT

5

01010-51245

BOLT

6

01643-31232

WASHER

7

709-10-91200

VALVE ASS'Y

8

01011-51240

BOLT

9

01643-31232

WASHER

10

209-62-24140

BLOCK

11

07000-13038

O-RING

12

01010-51295

BOLT

13

01643-31232

WASHER

14

07097-01212

HOSE

15

07097-01214

HOSE

16

07000-13038

O-RING

17

07371-51260

FLANGE,SPLIT

18

01010-51245

BOLT

19

01643-31232

WASHER

20

01011-51220

BOLT

21

01643-31232

WASHER

Выбрано товаров: 22