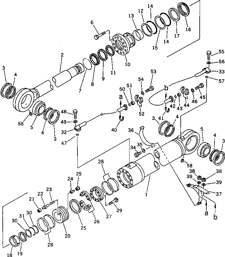
Запчасти Komatsu PC1000-1 ЦИЛИНДР СТРЕЛЫ(SALTY МЕСТН. СПЕЦ-Я.) РАБОЧЕЕ ОБОРУДОВАНИЕ (ЭКСКАВАТ.)

Схема запчастей Komatsu PC1000-1 - ЦИЛИНДР СТРЕЛЫ(SALTY МЕСТН. СПЕЦ-Я.) РАБОЧЕЕ ОБОРУДОВАНИЕ (ЭКСКАВАТ.)
FIT
1:1
100%

Артикул

Название

Примечание

Количество

G-1

21N-63-X6010

CYLINDER GROUP,L.H.

G-1

21N-63-X6020

CYLINDER GROUP,R.H.

|$3

21N-63-06010

CYLINDER ASS'Y

1

21N-63-57140

CYLINDER

2

21N-63-57120

ROD

3

707-46-14020

BUSHING

4

21T-72-15870

SEAL,DUST

5

707-46-14010

BUSHING

6

01010-83095

BOLT

7

707-75-16520

RING,SNAP

8

707-56-16080

SEAL,DUST

9

707-51-16130

PACKING,ROD

10

707-28-22610

HEAD,CYLINDER

11

707-51-16630

RING,BUFFER

12

707-35-92300

RING,BACK-UP

13

707-52-11610

BUSHING

14

07000-15220

O-RING

15

07001-05220

RING,BACK-UP

16

707-71-31720

COLLAR

17

707-71-11710

RING

18

707-71-51731

PLUNGER

19

707-40-22910

RETAINER

|$23

707-91-02231

PISTON SUB ASS'Y

20

PISTON

21

SEAT

22

VALVE,PISTON

23

SPRING

24

VALVE,PISTON

25

707-44-22080

RING,PISTON

26

707-40-22970

SPACER

27

707-37-22030

PISTON

28

707-39-22820

RING,WEAR

29

01252-31695

BOLT

30

707-35-91440

RING

31

07000-15135

O-RING,BACK-UP

32

21N-63-57170

TUBE,L.H.

32

21N-63-57270

TUBE,R.H.

33

21N-63-57180

TUBE,L.H.

33

21N-63-57280

TUBE,R.H.

34

01010-51240

BOLT

35

01643-31232

WASHER

36

707-88-95270

BAND

37

707-88-95280

BRACKET

38

01599-01011

NUT

39

01643-31032

WASHER

40

07283-23442

CLIP

41

07283-24346

CLIP

42

07000-13048

O-RING

43

07378-11410

HEAD

44

07371-51470

FLANGE

45

01010-41455

BOLT

46

01643-31445

WASHER

47

07000-13038

O-RING

48

01010-51245

BOLT

49

01643-31232

WASHER

50

07000-13038

O-RING

51

07378-11210

HEAD

52

07371-51260

FLANGE

53

01010-41245

BOLT

54

01643-31232

WASHER

55

01010-51450

BOLT

56

01643-31445

WASHER

57

07000-13048

O-RING

58

07043-00108

PLUG

Выбрано товаров: 64