Запчасти Komatsu PC1000-1 ПОЛУ-УДЛИНН. РУКОЯТЬ РАБОЧЕЕ ОБОРУДОВАНИЕ (ЭКСКАВАТ.)

Схема запчастей Komatsu PC1000-1 - ПОЛУ-УДЛИНН. РУКОЯТЬ РАБОЧЕЕ ОБОРУДОВАНИЕ (ЭКСКАВАТ.)
FIT
1:1
100%

Артикул

Название

Примечание

Количество

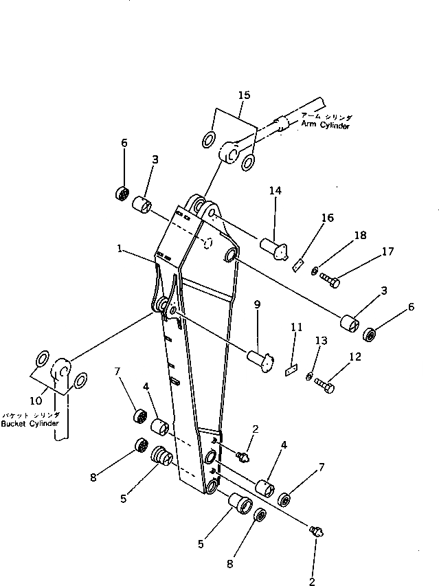
G-1

21N-947-X100

SEMI-LONG ARM GROUP

1

21N-947-1111

ARM

1

21N-947-1110

ARM

2

07020-00000

FITTING,GREASE

3

21N-70-11181

BUSHING

3

21N-70-11180

BUSHING

4

21N-70-12170

BUSHING

5

21N-70-12151

BUSHING

5

21N-70-12150

BUSHING

6

209-72-11311

SEAL

7

209-72-11261

SEAL

8

21N-70-12160

SEAL

9

21N-947-1130

PIN

10

21N-72-11230

SHIM, 1.0MM

11

21N-70-11230

PLATE

12

01010-51640

BOLT

13

01643-31645

WASHER

14

21N-72-11141

PIN

15

21N-72-11210

SHIM, 1.0MM

16

21N-70-11210

PLATE

17

01010-52455

BOLT

18

01643-32460

WASHER

Выбрано товаров: 0