Запчасти Komatsu PC1000-1 СТРЕЛА(№-) РАБОЧЕЕ ОБОРУДОВАНИЕ (ПОГРУЗ.)

Схема запчастей Komatsu PC1000-1 - СТРЕЛА(№-) РАБОЧЕЕ ОБОРУДОВАНИЕ (ПОГРУЗ.)
FIT
1:1
100%

Артикул

Название

Примечание

Количество

G-1

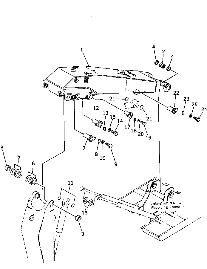
21N-72-X1100

BOOM GROUP

|$2

21N-72-00100

BOOM ASS'Y

1

BOOM

2

21N-70-11181

BUSHING

2

21N-70-11180

BUSHING

3

21N-72-11190

BUSHING

4

209-72-11311

SEAL

G-2

21N-72-X1200

BOOM PIN GROUP

5

21N-72-11210

SHIM, 1.0MM

6

21N-72-11220

SHIM, 1.5MM

7

21N-72-11180

PIN

8

207-70-11230

PLATE

9

01010-51640

BOLT

10

01643-31645

WASHER

11

07000-12130

O-RING

12

21N-72-11170

PIN

13

207-70-11230

PLATE

14

01010-51640

BOLT

15

01643-31645

WASHER

16

21N-72-11230

SHIM, 1.0MM

17

21N-72-11150

PIN

18

207-70-11230

PLATE

19

01010-51640

BOLT

20

01643-31645

WASHER

21

07000-12130

O-RING

22

209-72-51160

PIN

23

207-70-11230

PLATE

24

01010-51640

BOLT

25

01643-31645

WASHER

Выбрано товаров: 29