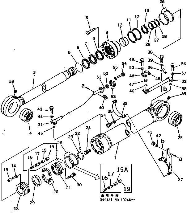
Запчасти Komatsu PC1000-1 ЦИЛИНДР РУКОЯТИ РАБОЧЕЕ ОБОРУДОВАНИЕ (ПОГРУЗ.)

Схема запчастей Komatsu PC1000-1 - ЦИЛИНДР РУКОЯТИ РАБОЧЕЕ ОБОРУДОВАНИЕ (ПОГРУЗ.)
FIT
1:1
100%

Артикул

Название

Примечание

Количество

G-1

21N-63-X3031

CYLINDER GROUP,L.H.

G-1

21N-63-X3030

CYLINDER GROUP,L.H.

G-2

21N-63-X3041

CYLINDER GROUP,R.H.

G-2

21N-63-X3040

CYLINDER GROUP,R.H.

|$5

21N-63-03031

CYLINDER ASS'Y

|$6

21N-63-03030

CYLINDER ASS'Y

1

21N-63-66140

CYLINDER

2

21N-63-66120

ROD

3

01010-52485

BOLT

4

707-46-11520

BUSHING

5

07179-14140

RING,SNAP

5

707-75-13012

RING,SNAP

6

707-56-13520

SEAL,DUST (KIT)

7

707-51-13130

PACKING,ROD (KIT)

8

707-27-18510

HEAD,CYLINDER

9

707-51-13630

RING,BUFFER (KIT)

10

07000-15175

O-RING (KIT)

11

07001-05175

RING

12

707-52-91050

BUSHING

12

707-52-11310

BUSHING

13

707-40-18910

RETAINER

|$22

707-91-01841

PISTON SUB ASS'Y

|$23

707-91-01840

PISTON SUB ASS'Y

14

VALVE,PISTON

15

SEAT

15

SEAT

15A

SEAT

16

SPRING

17

VALVE,PISTON

18

PISTON

18

PISTON

19

707-71-91410

SPACER

20

707-40-18970

SPACER

21

707-37-18020

PISTON

22

707-71-91350

PIN

23

04260-01270

BALL

24

707-71-50390

PLUNGER

25

707-46-13010

BUSHING

26

707-39-18820

RING,WEAR (KIT)

27

07000-12110

O-RING (KIT)

28

707-35-52950

RING

29

707-44-18180

RING,PISTON (KIT)

29

707-44-18080

RING,PISTON (KIT)

30

01252-31485

BOLT

31

21N-62-13251

TUBE,L.H.

31

21N-62-13261

TUBE,R.H.

32

21N-62-13241

TUBE

33

707-88-96050

BAND

34

01010-51240

BOLT

35

01643-31232

WASHER

36

07282-04311

CLAMP

37

21N-62-13271

BRACKET

38

01010-51020

BOLT

39

01643-31032

WASHER

40

07283-23442

CLIP

41

01599-01011

NUT

42

01643-31032

WASHER

43

01010-51245

BOLT

44

01643-31232

WASHER

45

07000-13038

O-RING (KIT)

46

07000-13048

O-RING (KIT)

47

07378-11410

HEAD

48

07371-51470

FLANGE

49

01010-51455

BOLT

50

01643-31455

WASHER

51

07000-13038

O-RING (KIT)

52

07378-11210

HEAD

53

07371-51260

FLANGE

54

01010-51245

BOLT

55

01643-31232

WASHER

56

01010-51450

BOLT

57

01643-31455

WASHER

58

07000-13048

O-RING (KIT)

59

07043-00108

PLUG

|$76

707-99-69620

SERVICE KIT

Выбрано товаров: 0