Запчасти Komatsu PC1000-1 НИЖН. ГИДРОЦИЛИНДР КОВША ТРУБЫ (ДЛЯ ПОГРУЗ.) (РУКОЯТЬ) РАБОЧЕЕ ОБОРУДОВАНИЕ (ПОГРУЗ.)

Схема запчастей Komatsu PC1000-1 - НИЖН. ГИДРОЦИЛИНДР КОВША ТРУБЫ (ДЛЯ ПОГРУЗ.) (РУКОЯТЬ) РАБОЧЕЕ ОБОРУДОВАНИЕ (ПОГРУЗ.)
FIT
1:1
100%

Артикул

Название

Примечание

Количество

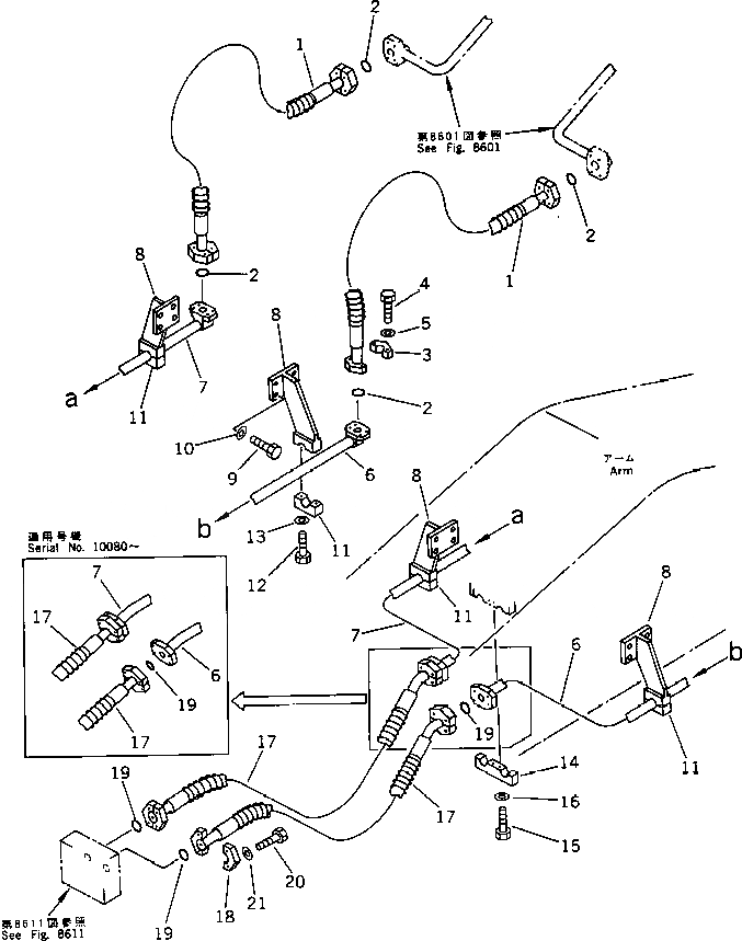
1

07099-21219

HOSE

2

07000-13038

O-RING

3

07371-51260

FLANGE

4

01010-51245

BOLT

5

01643-31232

WASHER

G-1

21N-62-X2200

ARM PIPING GROUP

6

21N-62-13571

TUBE,L.H.

6

21N-62-13570

TUBE,L.H.

7

21N-62-13581

TUBE,R.H.

7

21N-62-13580

TUBE,R.H.

8

21N-62-13611

BRACKET

9

01010-51225

BOLT

10

01643-31232

WASHER

11

207-62-14570

CLAMP

12

01010-51255

BOLT

13

01643-31232

WASHER

14

21N-62-13710

CLAMP

15

01010-51255

BOLT

16

01643-31232

WASHER

17

07099-21217

HOSE

17

07097-21219

HOSE

18

07371-51260

FLANGE

19

07000-13038

O-RING

20

01010-51245

BOLT

21

01643-31232

WASHER

Выбрано товаров: 25