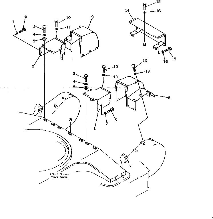
Запчасти Komatsu PC1000-1 ГИДРОЛИНИЯ ХОДАЧАСТИ КОРПУСА(№-) ХОДОВАЯ

Схема запчастей Komatsu PC1000-1 - ГИДРОЛИНИЯ ХОДАЧАСТИ КОРПУСА(№-) ХОДОВАЯ
FIT
1:1
100%

Артикул

Название

Примечание

Количество

1

21N-30-11260

COVER,L.H.

2

21N-30-11270

COVER,R.H.

3

01010-51225

BOLT

4

01643-31232

WASHER

5

21N-30-11340

COLLAR

6

01010-51225

BOLT

7

175-54-34170

WASHER

8

21N-30-11241

COVER,L.H.

9

21N-30-11251

COVER,R.H.

10

01010-51225

BOLT

11

175-54-34170

WASHER

12

01010-51235

BOLT

13

175-54-34170

WASHER

14

21N-30-11280

COVER

15

01010-51225

BOLT

16

175-54-34170

WASHER

Выбрано товаров: 0