Запчасти Komatsu PC1000-1 F.O.P.S. (ДЛЯ ВЫС. КАБИНА)(№-9) ЧАСТИ КОРПУСА

Схема запчастей Komatsu PC1000-1 - F.O.P.S. (ДЛЯ ВЫС. КАБИНА)(№-9) ЧАСТИ КОРПУСА
FIT
1:1
100%

Артикул

Название

Примечание

Количество

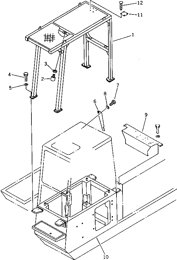
G-1

21N-956-X200

FOPS GROUP

1

21N-956-1110

GUARD

2

09453-00002

STOPPER

3

01580-11210

NUT

4

01010-51645

BOLT

5

01643-31645

WASHER

6

21N-956-1180

BRACKET

7

01220-40412

SCREW

8

01601-20410

WASHER

9

21N-956-1192

COVER

10

21N-54-12430

FRAME

11

09660-20100

PLATE¤ SAFETY

12

04418-13060

SCREW

Выбрано товаров: 13