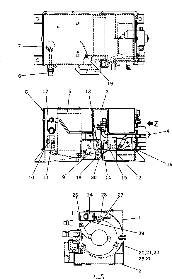
Запчасти Komatsu PC1000-1 БЛОК ОХЛАЖДЕНИЯ (С КОНДИЦИОНЕРОМ)(№78-) ЧАСТИ КОРПУСА

Схема запчастей Komatsu PC1000-1 - БЛОК ОХЛАЖДЕНИЯ (С КОНДИЦИОНЕРОМ)(№78-) ЧАСТИ КОРПУСА
FIT
1:1
100%

Артикул

Название

Примечание

Количество

G-1

21N-979-X100

AIR CONDITIONER G.

|1

21N-979-1310

COOLING UNIT

1

ND145420-4501

CASE ASS'Y

2

ND145420-4510

CASE ASS'Y

3

ND116410-3551

UNIT ASS'Y

4

205-979-7040

PIPE

5

ND447600-1880

EVAPORATOR

6

ND446890-0170

TUBE

7

ND447500-0120

VALVE

8

561-07-61360

FILTER

9

205-979-7090

THERMOSTAT

10

205-979-7100

PACKING

11

205-979-7110

HOLDER

12

205-979-7120

VALVE

13

ND116563-1120

CLAMP

14

205-979-7140

HOSE

15

205-979-7150

CLAMP

16

205-979-7160

CLAMP

17

205-979-7170

PLATE

18

205-979-7180

BRACKET

19

205-979-7190

INSULATOR

20

205-979-7200

FAN

21

205-979-7210

NUT

22

205-979-7220

WASHER

23

569-07-61510

MOTOR ASS'Y

24

ND146810-7581

RESISTOR

25

205-979-7250

PACKING

26

205-979-7260

PIPE

27

205-979-7270

WIRE

28

205-979-7280

CLAMP

29

ND116621-5042

PLATE

30

205-979-7300

COVER

Выбрано товаров: 32