Запчасти Komatsu PC1000-1 ЭЛЕКТРИКА (ЭЛЕКТРОПРОВОДКА) (/) (С -STAGE SELECTOR MODE OLSS) КОМПОНЕНТЫ ДВИГАТЕЛЯ И ЭЛЕКТРИКА

Схема запчастей Komatsu PC1000-1 - ЭЛЕКТРИКА (ЭЛЕКТРОПРОВОДКА) (/) (С -STAGE SELECTOR MODE   OLSS) КОМПОНЕНТЫ ДВИГАТЕЛЯ И ЭЛЕКТРИКА
FIT
1:1
100%

Артикул

Название

Примечание

Количество

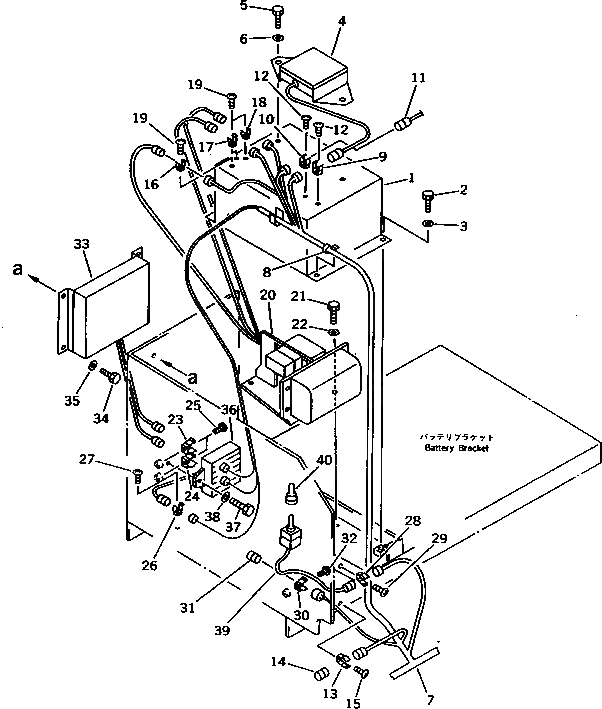
1

21N-06-11290

COVER

2

01010-51020

BOLT

3

01643-31032

WASHER

4

21N-06-11111

CONTROL BOX ASS'Y

5

01010-51025

BOLT

6

01643-31032

WASHER

7

21N-06-11216

WIRING HARNESS

|7

21N-06-11215

WIRING HARNESS

|7

21N-06-11214

WIRING HARNESS

|7

21N-06-11213

WIRING HARNESS

|7

21N-06-11212

WIRING HARNESS

8

08036-01014

CLIP

9

08052-02711

CLIP

10

08052-01711

CLIP

11

21N-06-11340

WIRING HARNESS

12

01220-40616

SCREW

13

08052-01711

CLIP

14

195-06-41750

PLUG

15

01220-40616

SCREW

16

08052-02411

CLIP

17

08052-01911

CLIP

18

08052-01711

CLIP

19

01220-40616

SCREW

20

600-815-4300

CONTROL UNIT ASS'Y

21

01010-51025

BOLT

22

01643-31032

WASHER

23

08052-02411

CLIP

24

08052-02711

CLIP

25

01220-40616

SCREW

26

08052-01711

CLIP

27

01220-40616

SCREW

28

08052-02411

CLIP

29

01220-40616

SCREW

30

08052-02411

CLIP

31

207-06-31360

CONNECTOR

32

01220-40616

SCREW

33

7827-50-1001

CONTROL BOX ASS'Y

34

01010-51020

BOLT

35

01643-31032

WASHER

36

7827-11-1500

RESISTOR

37

01010-50820

BOLT

38

01643-30823

WASHER

39

205-06-71890

SWITCH

40

203-06-41610

CAP

Выбрано товаров: 44