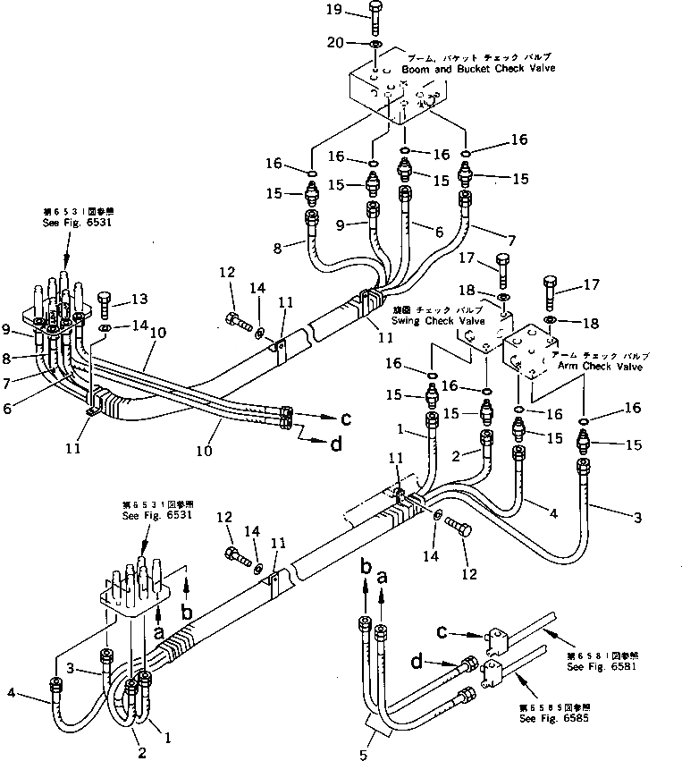
Запчасти Komatsu PC1000-1 КОРПУС TO/FROM КОНТРОЛЬНЫЙ КЛАПАНТРУБЫ (ДЛЯ ЭКСКАВАТ.)(KOMATSU PATTERN)(ДЛЯ ЯПОН.)(№-) УПРАВЛ-Е РАБОЧИМ ОБОРУДОВАНИЕМ

Схема запчастей Komatsu PC1000-1 - КОРПУС TO/FROM КОНТРОЛЬНЫЙ КЛАПАНТРУБЫ (ДЛЯ ЭКСКАВАТ.)(KOMATSU PATTERN)(ДЛЯ ЯПОН.)(№-) УПРАВЛ-Е РАБОЧИМ ОБОРУДОВАНИЕМ
FIT
1:1
100%

Артикул

Название

Примечание

Количество

G-1

21N-54-X3000

LOW CAB GROUP

|1

21N-62-17131

HOSE ASS'Y

1

07102-20330

HOSE,(YELLOW)

2

07102-20330

HOSE,(WHITE)

3

07102-20330

HOSE,(GREEN)

4

07102-20330

HOSE,(BLACK)

5

07102-20304

HOSE

|6

21N-62-17131

HOSE ASS'Y

6

07102-20330

HOSE,(YELLOW)

7

07102-20330

HOSE,(WHITE)

8

07102-20330

HOSE,(BLACK)

9

07102-20330

HOSE,(GREEN)

10

07102-20308

HOSE

11

21T-06-11950

CLIP

12

01010-51220

BOLT

13

01010-51225

BOLT

14

01643-31232

WASHER

15

209-62-57740

UNION

16

07002-02034

O-RING

17

01010-51075

BOLT

18

01643-31032

WASHER

19

01010-51085

BOLT

20

01643-31032

WASHER

Выбрано товаров: 23