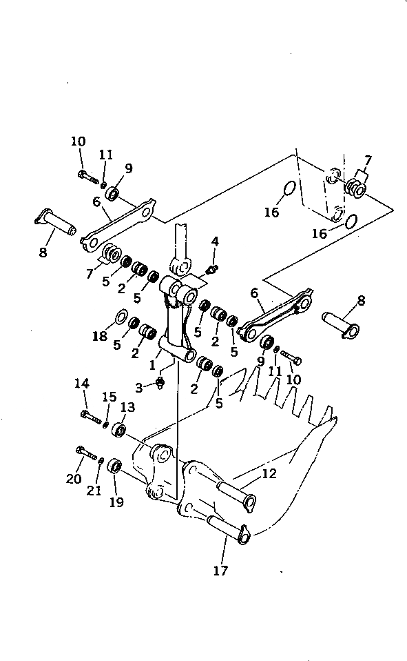
Запчасти Komatsu PC1000-1 СОЕДИНИТЕЛЬН. ЗВЕНО РАБОЧЕЕ ОБОРУДОВАНИЕ (ЭКСКАВАТ.)

Схема запчастей Komatsu PC1000-1 - СОЕДИНИТЕЛЬН. ЗВЕНО РАБОЧЕЕ ОБОРУДОВАНИЕ (ЭКСКАВАТ.)
FIT
1:1
100%

Артикул

Название

Примечание

Количество

G-1

21N-70-X3100

LINK GROUP

|1

21N-70-00030

LINK ASS'Y

1

LINK

2

21N-70-12170

BUSHING

3

07020-00000

FITTING,GREASE

4

07020-00000

FITTING,GREASE

5

209-72-11261

SEAL

6

21N-70-13121

LINK

|6

209-70-13120

LINK

G-2

21N-70-X3200

PIN GROUP

7

21N-72-11230

SHIM¤ 1.0MM

8

21N-70-13131

PIN

|8

21N-70-13130

PIN

9

21T-72-73170

STOPPER

10

01010-51645

BOLT

11

01643-31645

WASHER

12

21N-70-13141

PIN

|12

21N-70-13140

PIN

13

21T-72-73170

STOPPER

14

01010-51645

BOLT

15

01643-31645

WASHER

16

21N-70-13150

O-RING

17

21N-70-13161

PIN

|17

21N-70-13160

PIN

18

21N-72-11230

SHIM¤ 1.0MM

19

21T-72-73170

STOPPER

20

01010-51645

BOLT

21

01643-31645

WASHER

Выбрано товаров: 28