Запчасти Komatsu PC1000-1 КОВШ¤ 9.M (БЕЗ TOOTH) (НИЖН. РАЗГРУЗКА) (SALT МЕСТН. СПЕЦ-Я.) РАБОЧЕЕ ОБОРУДОВАНИЕ (ПОГРУЗ.)

Схема запчастей Komatsu PC1000-1 - КОВШ¤ 9.M (БЕЗ TOOTH) (НИЖН. РАЗГРУЗКА) (SALT МЕСТН. СПЕЦ-Я.) РАБОЧЕЕ ОБОРУДОВАНИЕ (ПОГРУЗ.)
FIT
1:1
100%

Артикул

Название

Примечание

Количество

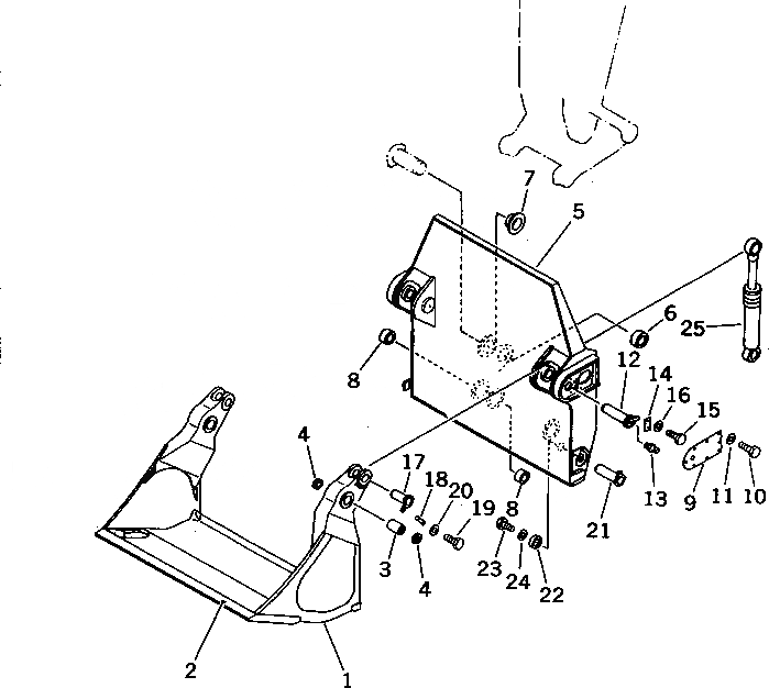
1

21N-961-2110

BUCKET

2

21N-961-2120

PLATE (WELDED)

3

21N-72-14240

BUSHING

4

209-72-12211

SEAL

5

21N-72-14112

BUCKET,REAR

6

21N-72-14180

BUSHING

7

21N-72-14190

BUSHING

8

21N-72-14220

BUSHING

9

21N-72-14250

COVER

10

01010-51235

BOLT

11

01643-31232

WASHER

12

21N-919-7760

PIN

13

07020-00000

FITTING,GREASE

14

21N-919-1510

PLATE

15

01010-51640

BOLT

16

01643-31645

WASHER

17

21N-919-7770

PIN

18

21N-919-7780

PLATE

19

01010-51250

BOLT

20

01643-31232

WASHER

21

21N-919-7790

PIN

22

209-72-54250

HOLDER

23

01010-51235

BOLT

24

01643-31232

WASHER

25

21N-63-X7070

CYLINDER GROUP,L.H.

|25

21N-63-X7080

CYLINDER GROUP,R.H.

Выбрано товаров: 26