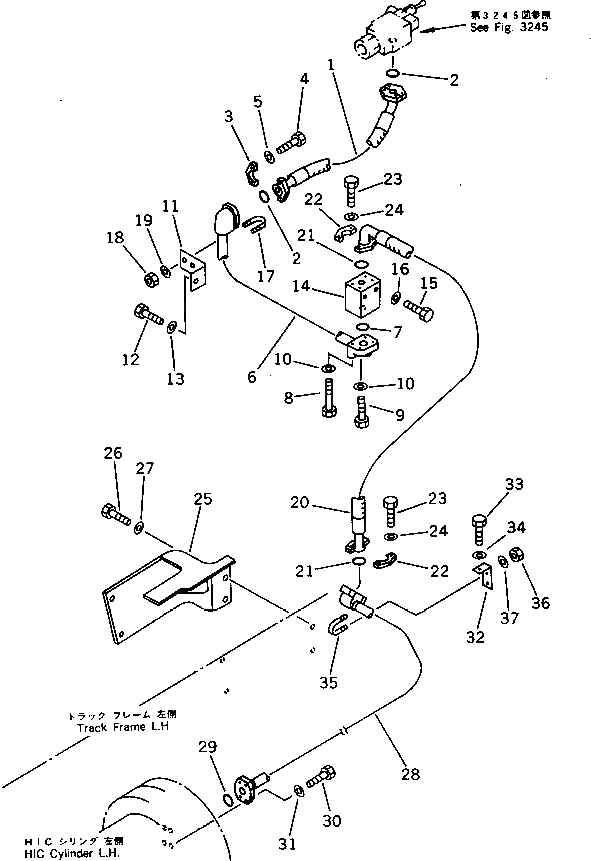
Запчасти Komatsu PC1000-1 HIC ТРУБЫ (РАЗГРУЗ. КЛАПАН - HIC ЦИЛИНДР¤ ЛЕВ.) ХОДОВАЯ

Схема запчастей Komatsu PC1000-1 - HIC ТРУБЫ (РАЗГРУЗ. КЛАПАН - HIC ЦИЛИНДР¤ ЛЕВ.) ХОДОВАЯ
FIT
1:1
100%

Артикул

Название

Примечание

Количество

1

07097-00606

HOSE

2

07000-13025

O-RING

3

07371-30638

FLANGE,SPLIT

4

01010-50830

BOLT

5

01643-50823

WASHER

6

21N-62-14230

TUBE,L.H.

7

07000-13030

O-RING

8

01010-50855

BOLT

9

01010-50840

BOLT

10

01643-50823

WASHER

11

21N-62-14250

PLATE

12

01010-51225

BOLT

13

01643-31232

WASHER

14

21N-62-14341

BLOCK

15

01010-51280

BOLT

16

01643-31232

WASHER

17

07283-32738

CLIP

18

01599-01011

NUT

19

01643-31032

WASHER

20

07098-20610

HOSE

21

07000-13025

O-RING

22

07371-30638

FLANGE,SPLIT

23

01010-50830

BOLT

24

01643-50823

WASHER

25

21N-62-14291

COVER,L.H.

26

01010-51640

BOLT

27

01643-31645

WASHER

28

21N-62-14270

TUBE,L.H.

29

07000-13030

O-RING

30

01010-50830

BOLT

31

01643-30823

WASHER

32

209-62-54510

PLATE

33

01010-51225

BOLT

34

01643-31232

WASHER

35

07283-32738

CLIP

36

01599-01011

NUT

37

01643-31032

WASHER

Выбрано товаров: 37