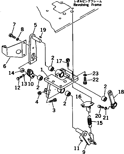
Запчасти Komatsu PC1000LC-1 РЫЧАГ БЛОКИРОВКИ УПРАВЛ-Е (ДЛЯ EC) (/)(№-) СИСТЕМА УПРАВЛЕНИЯ И ОСНОВНАЯ РАМА

Схема запчастей Komatsu PC1000LC-1 - РЫЧАГ БЛОКИРОВКИ УПРАВЛ-Е (ДЛЯ EC) (/)(№-) СИСТЕМА УПРАВЛЕНИЯ И ОСНОВНАЯ РАМА
FIT
1:1
100%

Артикул

Название

Примечание

Количество

1

209-43-61510

BRACKET

2

195-61-45440

BEARING

3

20Y-43-15390

BOLT

4

01580-01008

NUT

5

209-43-61520

LEVER

6

209-43-61530

BRACKET

7

01010-51020

BOLT

8

01643-31032

WASHER

9

209-43-61540

LEVER

10

209-43-61550

LEVER

11

04010-00519

KEY

12

01010-50830

BOLT

13

01602-20825

WASHER

14

20Y-54-11570

ROLLER

15

20Y-43-22330

SPRING

16

209-43-61560

BRACKET

17

01252-51035

BOLT

18

21N-43-11410

LEVER

19

04010-00519

KEY

20

01010-50830

BOLT

21

01602-20825

WASHER

22

01010-51035

BOLT

23

01643-31032

WASHER

Выбрано товаров: 23