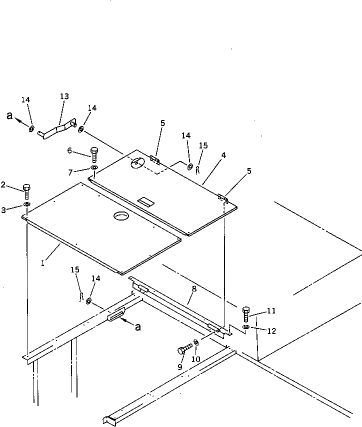
Запчасти Komatsu PC1000LC-1 ACCESS COVER ЧАСТИ КОРПУСА

Схема запчастей Komatsu PC1000LC-1 - ACCESS COVER ЧАСТИ КОРПУСА
FIT
1:1
100%

Артикул

Название

Примечание

Количество

1

21N-54-11441

COVER

1

21N-54-11440

COVER

2

01010-51230

BOLT

3

01643-31232

WASHER

4

21N-54-11450

COVER

5

205-54-64160

HINGE (WELDED)

6

01010-51230

BOLT

7

01643-31232

WASHER

8

21N-54-11460

COVER

9

01010-51230

BOLT

10

01643-31232

WASHER

11

01010-51230

BOLT

12

01643-31232

WASHER

13

209-54-53151

STAY

14

01643-31645

WASHER

15

04050-14028

PIN,COTTER

Выбрано товаров: 16