Запчасти Komatsu PC1000LC-1 ЛЕВ. СТУПЕНИ (ДЛЯ ВЫС. КАБИНА) (ДЛЯ EC)(№77-) ЧАСТИ КОРПУСА

Схема запчастей Komatsu PC1000LC-1 - ЛЕВ. СТУПЕНИ (ДЛЯ ВЫС. КАБИНА) (ДЛЯ EC)(№77-) ЧАСТИ КОРПУСА
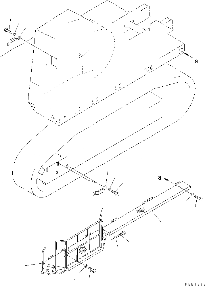
1
2
3
4
5
6
7
8
9
9
10
10
11
11
FIT
1:1
100%

Артикул

Название

Примечание

Количество

1

21N-54-12331

FRAME

2

01010-51230

BOLT

3

01643-31232

WASHER

4

21N-54-12310

FRAME

5

01010-51230

BOLT

6

01643-31232

WASHER

7

01010-51225

BOLT

8

01643-31232

WASHER

9

209-30-61851

BRACKET

10

01010-51635

BOLT

11

01643-31645

WASHER

Выбрано товаров: 11