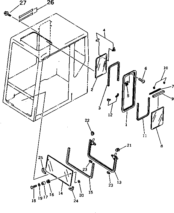
Запчасти Komatsu PC1000LC-1 НИЖН. КРЕПЛЕНИЕ КАБИНА (ЗАДН. ОКНА ЖЕСТК.) (С ПРАВ.ОКНА ЧАСТИ КОРПУСА) (/7)(№7-) ЧАСТИ КОРПУСА

Схема запчастей Komatsu PC1000LC-1 - НИЖН. КРЕПЛЕНИЕ КАБИНА (ЗАДН. ОКНА ЖЕСТК.) (С ПРАВ.  ОКНА ЧАСТИ КОРПУСА) (/7)(№7-) ЧАСТИ КОРПУСА
FIT
1:1
100%

Артикул

Название

Примечание

Количество

|$1

21N-54-00081

OPERATOR'S CAB ASS'Y

|$2

21N-54-00080

OPERATOR'S CAB ASS'Y

|$4

20Y-54-13201

SASH ASS'Y

1

SASH

2

20Y-54-13230

GLASS

3

SEAL

4

20Y-54-13321

LOCK ASS'Y

5

HOOK

6

SCREW

7

SEAL

8

20Y-54-13220

GLASS

9

SASH

10

SEAL

11

LINER

12

STOPPER

13

20Y-54-11841

FRAME

14

20Y-54-11321

GLASS

15

20Y-54-11430

WEATHER STRIP

16

08037-01610

GROMMET

17

20Y-54-14340

COLLAR

18

01225-70830

SCREW

19

20Y-54-14330

WASHER

20

01643-31645

WASHER

21

20Y-54-11471

SEAL

22

20Y-54-11481

SEAL

23

20Y-54-14550

SEAT

24

207-54-54170

TRIM

25

207-54-54180

TRIM

26

20Y-54-14820

GUARD

27

20Y-54-14370

BOLT

Выбрано товаров: 30