Запчасти Komatsu PC1000LC-1 ОМЫВАТЕЛЬ СТЕКЛА (ДЛЯ США И CANADA)(№7-) ЧАСТИ КОРПУСА

Схема запчастей Komatsu PC1000LC-1 - ОМЫВАТЕЛЬ СТЕКЛА (ДЛЯ США И CANADA)(№7-) ЧАСТИ КОРПУСА
FIT
1:1
100%

Артикул

Название

Примечание

Количество

|$2

21N-54-00071

OPERATOR'S CAB ASS'Y

|$3

21N-54-00070

OPERATOR'S CAB ASS'Y

|$4

21N-54-00081

OPERATOR'S CAB ASS'Y

|$5

21N-54-00080

OPERATOR'S CAB ASS'Y

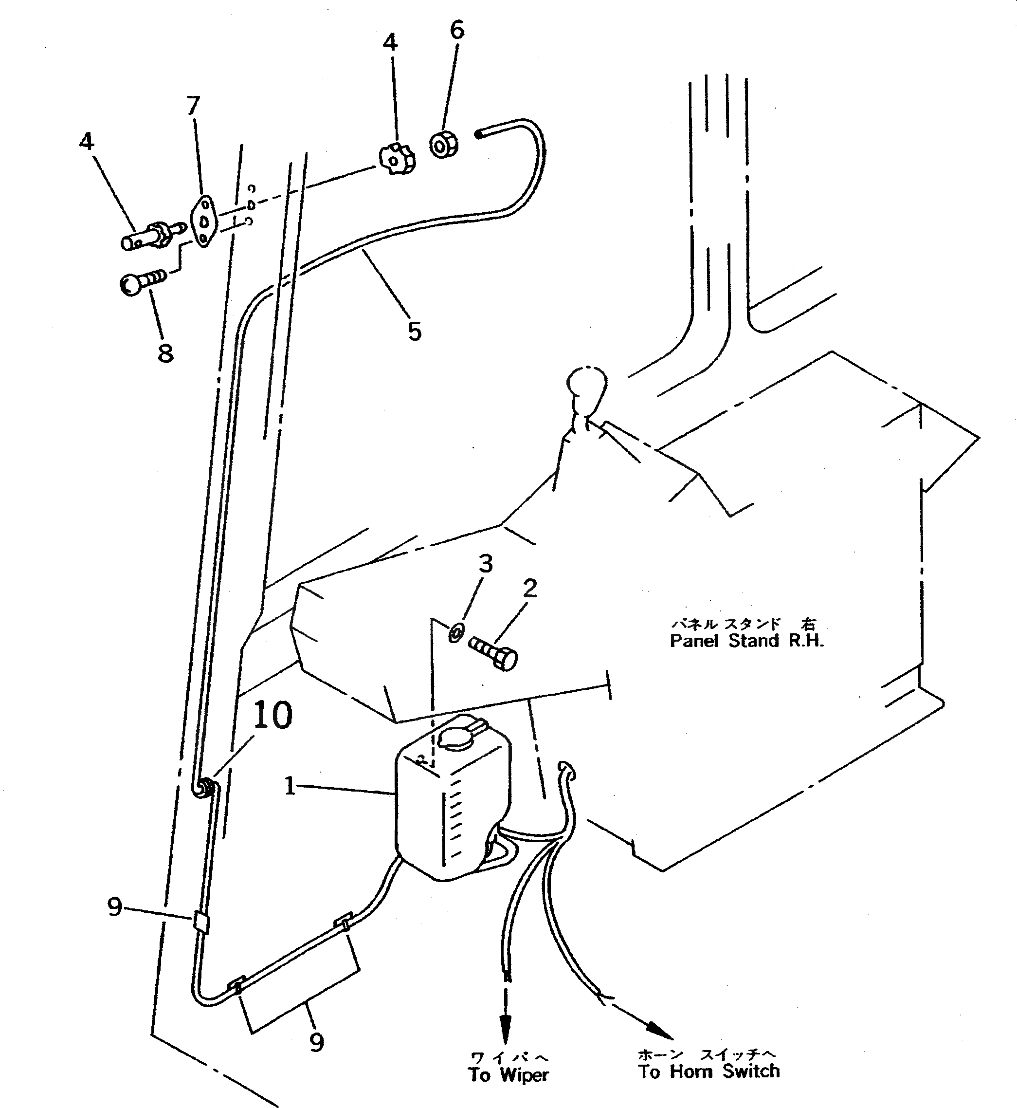
1

206-06-15230

TANK

2

01010-50612

BOLT

3

01643-30623

WASHER

4

205-06-61220

NOZZLE ASS'Y

5

205-06-71470

HOSE

6

205-06-71610

NUT

7

209-54-51180

BRACKET

8

01370-00412

SCREW

9

08051-00801

CLIP

10

20Y-54-18980

GROMMET

Выбрано товаров: 14